Возможно, такое членение киля сделали ради того, чтобы обеспечить тонкую кромку в верхней части киля - чтобы не пришлось склеивать две половинки в этом месте вдоль кромки. Все же одну деталюшку можно сделать более тонкой, чем склейку двух.
Продолжаю. Подход к постройке лодок немного изменился. Решил строить конвейерным способом. Из "Флагмана" и "AFV".
Сначала стою корпуса и рубки (башни), устанавливаю леера, рули, валы винтов. Потом все крашу. Потом уже занимаюсь опять конвейерным способом палубной оснасткой - орудия, перископы, локаторы, винты и пр.
Сейчас сделаны тушки восьми лодок. Рубки не закреплены - просто поставлены на палубу, без посадочных штифтов, потому пока могут стоять чуть с перекосом.
Корпуса еще будут проверяться перед покраской - пока наспех грунтовкой проверил сомнительные места на предмет швов. Будут еще добавлены некоторые элементы корпуса типа лючков, сделанные потом на конвейере.
Фото снято пока наспех смартфоном.
Банальная U-552 "Красный дьявол" на 1942-й.
Очень необычная U-295 во время операции Цезарь.
Самая навороченная "Черная пантера" U-1105. Пришлось полностью переделывать шпигаты - они уникальны. Плюс атлантический нос, как и на предыдущей.
Еще одна экзотика-U-84, с дополнительной башней.
Надо было что-то из раннего - с сетеразрезателем и без ветрового козырька. Легендарная U-48
Классическая 7С второй половины войны, но с покрытием палубы раннего типа U-453. Ну и интересный камо у нее.
Минный заградитель тип VIID, просто очень необычен и редкий. Лодка U-213.
Средиземноморская "семерка" U-81. С пулеметами "Бреда".
В работе еще три "семерки" -
уникальнейшая U-676 с мегазенитной батареей, найденная финнами на Балтике лет десять назад,
какая-то тип-VIIA (не определился еще с конкретикой),
и какая-то тип VIIC/41 (возможно, U-997 - у нее шнорхель другой системы в отличии от строящейся U-1105 и необычный камо).
Недурно оно стоит... Я хоть и не особо экономлю на хобби, но 15к за лампу чота вообще не готов платить
Я в мае 2025-го покупал ее за 4к руб.
Ваш спор о прочности и профиле лопастей напомнил старый анекдот.
На авиазаводе никак не могут сдать новый эспериментальный самолет. На испытаниях все время рвется обшивка крыла в одном и том же месте. Что ни делали - ничего не помогает. Наваривали усиления, увеличивали толщину обшивки - рвется, зараза.
И тут старый мастер из сборочного цеха советует: "Вы по линии разрушения насверлите отверстий."
Ему в ответ: "???"
Ну раз ничего другого не помогает - воспользовались советом. Насверлили. И тут - о чудо! - все прошло успешно.
К мастеру подбегают с вопросами: "Дед, это какая-то тайна сопромата?"
Мастер: "Да нет, жизненный опыт. Вы когда-нибудь пробовали туалетную бумагу отрывать по перфорации???"
Ответа не было. Сейчас переподам.
Добрый день.
Обзор модели больше недели назад вернулся из прихожей в личные обзоры. И продолжает там ржаветь. С ним что-то не так?
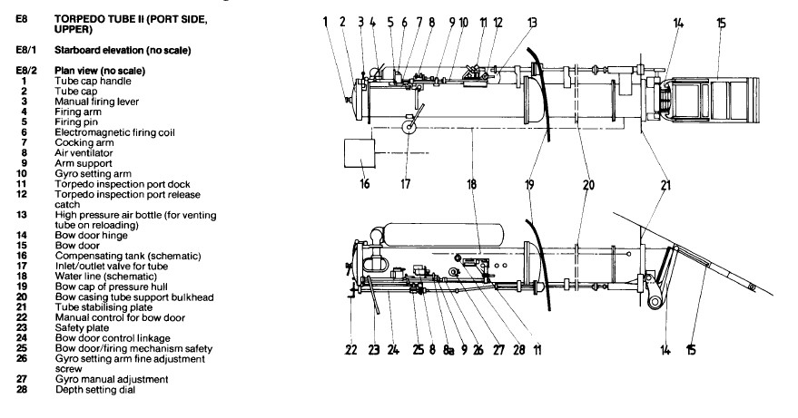
Сначала открывается волнорезный щиток (или внешняя крышка легкого корпуса) затем передняя крышка ТА,
Вроде бы, открываются синхронно, но крышка ТА идет первой, и ее, открытую, прикрывает внешний щиток.
Руками пощупаем- тогда и порадуемся.
Скорее всего опечатка.
Или мошенники.
Сын подготовил мне в новогодний подарок новинку от Такома- "Гремящий" на 1942 год в 350-м. Проговорился, что модель уже приехала. Интересно детально пощупать. Ждать недолго, 2 месяца.
Зашёл в профильный форум..Вышел с профильного форума...
И входит.... И выходит... Замечательно выходит...
Или большинство любителей 35-го так стесняются своих игрушечных невзрачных клопиков?)- поддержали любители 16-го масштаба... ))
Скорее всего, там и будет главная интрига сезона 2025-2026.
Неужели К-700?
испанского галеона с крестами
Интересно, а изображение церкви к КРЕСТОМ на воротах вызовет у них шизофрению на почве борьбы между собой духоскрепности и охоты на ведьм?
Из-за ценовой политики Нашей Прелести, Ваш КЭП
А где-то за монитором сидит онемевший на месяц дедушка и злорадно потирает ручки.
А фото в студию можно?
Звезда так и продолжит плевать на нас, правоверных моделистов. И не видать нам К-700 как своих ушей.
А во всем виноват Атлон. Он своевременно не предоставил потенциальной фирме-изготовителю данные объективного теста на высокую узнаваемость К-700, проведенную среди своих 12 сотрудников в присутствии научной комиссии.
Положительный результат в 91,66% отличия данной модели от К-701, Катерпиллеров и прочих Беларусов тестируемыми однозначно заставил бы Звезду скорректировать свои планы и выпустить столь востребованную всей сознательной биосферой модель.
Причины минимализации кроятся совершенно в другом.
Ну, где? Где ответ на столь интригующий всех вопрос? Откройте бездну сокровенных знаний, которую могут постичь не только лишь все! Прошу, ваш выход!
Только на дверцы предусмотрите резиновые или силиконовые уплотнители для защиты от пыли.
Техника в 72-м масштабе - это сами по себе достаточно небольшие небольшие по размерам модели.
Но тем не менее наблюдается тенденция к минимизации моделей. В последнее время (особенно с Китая) поперли корабли в 700-м, наземка и фигуры в 72-м, авиация в 144м. И все это в очень хорошем качестве и детализации.
А причина минимализма - не иначе как Земля перенаселена, модели ставить некуда.
Ну петля времени и всесилие судьбы - это бесспорно "Треугольник". При всех попытках ГГ вырваться из этой петли и понимания полной обреченности в конце этот фильм уделывает всю франшизу Пунктов назначения.
Так что, не ешьте креветки это опасно для мозга!
А что, креветок надо есть с панцирем? 
А я, дурак, их чищу...
Кукуха стала талисманом психиатрической службы Челябинской области
Все правильно. Я же челябинец. Вот и съездил по вашему совету в наш ПКБ, передал им скрин нашей переписки. Врачей чьи-то высказывания вдохновили сделать талисман. Сказали, что не нашли куклы "лягуха" и выбрали кукуху.