На братском форуме есть шикарная подборка финского фотокаталога частей и узлов Т-34 образца 41-го года
https://smolbattle.ru/threads/%D0%A7%D0%B0%D1%81%D1%82%D0%B8-%D1%82%D0%B0%D0%BD%D0%BA%D0%B0-%D0%A2-3...
Изменения в теме по состоянию на 07.12.23г.:
- Исправлена хронология вариативов приварки колец на штампованных опорных колесах и типов 80-ых ленивцев;
- В пост об управляемых колесах добавлена информация об углах наклона верхней "выборки" на лицевой стороне цапфы .
Безусловно сложно считать тему ходовой части танков БТ полностью раскрытой без упоминаний о:
- внешнем виде, углах наклона и высоте регулировочных стаканов рессор;
- многообразии форм качающего рычага;
- изменениях внешнего вида поворотного рычага, балансиров и гитары.
Но обстоятельства таковы, что уже к концу этой рабочей недели доступ к интернету у меня останется только с телефона, а это не самый удобный девайс для работы с фотографиями, документами и текстом
Поэтому на какое-то время вынужден откланяться…
ВНИМАНИЕ! Все вышеизложенное ни в коем случае не претендует на истину в высшей инстанции.
Автор этой темы к музейным сотрудникам не имеет ни малейшего отношения и доступом к "секретным материалархивам" никогда не владел (более того - ни одной БТ-ешки "вживую" ни разу не видел
).
Прошу расценивать содержимое этой темы просто как попытку обычного моделиста хоть как-то систематизировать и упорядочить информацию - имеющуюся на просторах интернета.
Р.S.: Как всегда - любые замечания, дополнения и обоснованные возражения только приветствуются.
"Танки. Основы теории и расчета" 1937 г. изд., за авторством коллектива педагогов "ВАММ РККА им.тов.Сталина" под научной редакцией проф. Кристи М.К.
Будет интересна тем кто строит танки 30-ых годов.
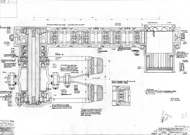
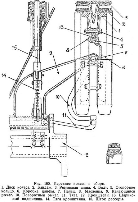
Управляемые колеса были трех основных типов: литые, штампованные и штампованные с броневым кольцом.
Общие характеристики:
Основными деталями управляемого колеса являются: литая коробка цапфы, разъемная ступица (которая у литых колес являлась неотъемлемой частью диска), шарикоподшипник, стопорное кольцо и диски с бандажами и резиновыми шинами.
Диски соединялись между собой на 6-ть стяжных болтов с корончатыми гайками, шайбами и шплинтами. В ступицу устанавливался опорный шарикоподшипник, который внутренней обоймой был посажен на коробку цапфы и с внешней стороны закреплялся стопорным кольцом (привернутым к коробке цапфы болтами с пружинными шайбами Гровера). Цапфа на внутренней поверхности, в области шарикоподшипника, имела отверстие с масленкой под винтовой шприц.
Все болты управляемого колеса на любом серийном танке «семейства» БТ ставились шляпками наружу и корончатыми гайками (с шайбами и шплинтами) - к корпусу танка!
Собственно, почему я в каждом посте о любом типе колес раз за разом занудно перечислял порядок постановки метизов – потому что изготовители моделей ориентируются на музейные образцы, которые в основной своей массе имеют управляемые колеса с корончатыми гайками по внешней стороне, а это в корне неверно.
Нет ни одной исторической фотографии, подтверждающей подобную постановку метизов на практике.
Исключение – БТ-СВ-2, на котором подобное обратное размещение метизов было более чем оправдано т.к. из-за особенностей конструкции корпуса тех.обслуживание (протяжка и шплинтовка) этих узлов при их стандартном положении превратилось бы в то еще техноизвращприключение…
Так что при постройке любого «правильного БТ» (кроме «Черепахи») нужно быть готовым «переболтить» управляемые колеса.
Цапфа, по сути, необходима в первую очередь для поворота колес вправо-влево, параллельно являясь неподвижным (по окружности) основанием шарикоподшипника и колесные диски при движении вращались вокруг неё.
Угол наклона выборки напротив верхнего прилива прямо взаимосвязан с углами наклонов качающего и поворотного рычагов и менялся строго в зависимости от изменения клиренса (от 8 до 30 градусов в сторону кормы). Т.е. чем выше клиренс – тем больше был угол наклона (от горизонтали) всех этих деталей.

Коробка цапфы была двух основных типов: цапфа Б-Т (образца 1931г.) и классическая (образца 1932г.).
Планом на 1931 год предусматривался выпуск 50 единиц Б-Т, но фактически были построены только 3 машины. Б-Т запускался в базе танка «Кристи». Никаких различий между танком М.1931 и Б-Т не планировалось т.к. в целях ускорения серийного производства стояла задача освоить выпуск максимально идентичного образца. Информации о танках Б-Т обр.1931г. в открытом доступе крайне мало, но все-таки некоторые выводы вполне можно сделать, итак…
Цапфа Б-Т во многом повторяла конструкцию за авторством Дж.У.Кристи, самым заметным отличием было количество болтов – фиксирующих стопорное кольцо (на фрагментах чертежей ниже их указано 16 шт.).
Чертеж С-10 «Общий вид машины Б-Т» (если обратить внимание на схематичное изображение управляемого колеса) также говорит о некоторой преемственности конструкции этого узла.
Рисунок 161 в «Наставлении механизированных и моторизованных войск РККА ТАНК БТ» дает общее представление о том как выглядел первый вариант качающего рычага с коробкой цапфы. Качество иллюстрации конечно не ахти какое, но даже на ней можно увидеть непривычно утонченные формы тела качающего рычага (по сравнению с габаритами головки для прохода оси самого рычага) и ушко той же высоты, что и тело рычага. Диаметр цапфы небольшой, примерно в 2 раза больше высоты ушка качающего рычага.
Согласно текста на стр.167 цапфа имела два прилива (сверху и снизу) по внутренней поверхности. Через приливы по диаметру коробки просверливалось отверстие под палец, фиксирующий цапфу на ушке качающего рычага. К внутренней поверхности верхнего прилива на два болта крепился поворотный рычаг.
Фотографий танков Б-Т обр.31г немного. Ранний тип цапфы можно увидеть если повнимательнее рассмотреть иллюстрацию на стр.15 Наставления по танку БТ от 1932г. и фотографию Б-Т (Д-38), базой для которого как раз и послужил один из трех Б-Т, выпущенных в 1931г.

Как видно на этих фотографиях - первая версия коробки цапфы имела небольшое круглое дно, обращенное наружу, снаружи к цапфе на 14 болтов (равномерно распределенных по окружности) крепилось широкое стопорное кольцо.
Во вторую версию коробки цапфы внесли следующие изменения:
Цапфа, тело и ушко качающего рычага стали более массивными.
Дно коробки цапфы приобрело выборку напротив верхнего прилива с двумя сквозными отверстиями под болты с корончатыми гайками – фиксирующими поворотный рычаг (на фото ниже они установлены задом наперёд!).
Стопорное кольцо стало уже приворачиваться только на 12 болтов, а в верхней его части удерживалось краями шляпок более массивных болтов - предназначенных для фиксации поворотного рычага.
Конец поворотного рычага был сточен на конус и вставлялся в конусное же отверстие верхнего прилива цапфы. Уже в этом виде, с незначительными изменениями, цапфа просуществовала до прекращения выпуска танков серии БТ.
Если любопытно в чем именно заключались эти "незначительные изменения" - рекомендую обратить особое внимание на фотографии управляемых колес, демонстрирующие вид со стороны корпуса танка...
Колесо представляло собой 2 литых диска с 12-ю отверстиями облегчения, стянутых вместе при помощи 6-ти стяжных болтов М16 через бонки на внутренних концах ребер усиления дисков. Края дисков имеют обод, на который напрессовываются бандажи с резиновыми шинами (помимо напрессовки бандажи фиксировались от смещения стопорными болтами, которые не позднее 1934г. были заменены сварными швами).
Штампованные управляемые колеса.
Ступица стала отдельной (разъемной) деталью с 6-тью отверстиями для прохода болтов М20, стягивающих диски колеса и ступицу. Диски штампованные, стальные, края дисков загнуты и на эти обода напрессовываются и привариваются бандажи с резиновыми шинами.
Управляемые колеса с броневым кольцом шарикоподшипника.
С наружной стороны (поверх стопорного кольца) прикреплено болтами броневое кольцо с двумя вырезами под шляпки болтов поворотного рычага, защищающее подшипник от пуль и осколков.
Внешне это визуально хорошо различимо по широкому кольцу (диаметром почти до стяжных болтов) вокруг цапфы и шляпками болтов стопорного кольца – почти сравнявшимся по высоте с дном коробки цапфы.
Вид снаружи и изнутри на управляемые колеса БТ-7 (чем еще хороша эта фотография - это тем, что на ней отлично видно как устроено "усиление" краев передних грязевых щитков... по внутренней стороне края уложен формованный металлический прут, обжат с выштамповкой его наружу и приварен в нескольких местах).
Редкий, но все же вариатив управляемого колеса – следы ремонта с заменой точек фиксации дисков к ступице.
.
И, как обычно, для желающих детальнее вникнуть в матчасть управляемых колес прикрепляю соответствующие страницы Руководств и Наставлений:
Наставление БТ 1932г.:
Наставление БТ-5:
Наставление БТ-7 1938г.:
"Вбоквел" или немного об ОСТах и не только...
Читая понаписанное поймал себя на том, что слишком часто упоминаю в тексте ОСТы по метизам...
И пришел к мысли, что наверное будет правильно приложить их сюда отдельным постом
ОСТ НКТП 3312 1937г.pdf
Безусловно пора бы уже указать документальные источники информации:
1) Фотокопии схем "танка Кристи", полученных Н.М. Тоскиным от Джона Уолтера Кристи
РГВА Фонд 31811 Опись 1 Дело 433 лист 11 и 12
2) «Наставление механизированных и моторизованных войск РККА ТАНК БТ» 1932 г.
Интернет-ресурсы
3) «Наставление автобронетанковых сил РККА ТАНК БТ-5» 1935 г.
Интернет-ресурсы
4) Сводка по опытным работам завода № 183 за декабрь 1936 года
РГВА Фонд 31811 Опись 3 Дело 1017 лист 8 – 10
5) "Танки. Основы теории и расчета" 1937 г. изд. (коллектив педагогов "ВАММ РККА им.тов.Сталина" под научной редакцией проф. Кристи М.К.)
архив МГТУ им. Н.Э.Баумана
6) «ТТХ на проектирование и изготовление легкого танка БТ-9 (на базе агрегатов БТ-7)» от 16.02.37г.
РГВА Фонд 31811 Опись 3 Дело 975 лист 5 – 26
7) Сводка опытных работ за январь-апрель 1937 г. в цехе "191".
РГВА Фонд 31811 Опись 3 Дело 1017 лист 83 – 85
8) Доклад командующего войсками КВО И.Ф. Федько о конструктивных и технологических недостатках танков и бронеавтомобилей 11 июня 1937 г.
РГВА Фонд 4 Опись 14 Дело 1826 лист 25 – 30
9) Сводка опытных работ за август 1937 года в цехе 191
РГВА Фонд 31811 Опись 3 Дело 1017 лист 136 – 138
10) «Наставление автобронетанковых сил РККА ТАНК БТ-7» 1938 г. на стр.12 и стр.229-230.
Интернет-ресурсы
11) Альбом фотоснимков «Танк БТ-СВ-2 предварительные заводские испытания» 19 февр. 1938г.
Интернет-ресурсы (оригинал вроде бы находится где-то в РГВА)
12) Тезисы доклада начальника АБТУ РККА комкора Д.Г. Павлова о требованиях к современным танкам и о новой системе танкового вооружения 20 марта 1938г.
РГВА Фонд 31811 Опись 2 Дело 804 лист 11 – 14
13) Протокол совещания, проведенного в Кремле 28.IV.с.г. и продолженного в АБТУ 29.IV. (13 мая 1938 г.)
РГВА Фонд 31811 Опись 2 Дело 745 лист 4 – 7
14) «ПЕРЕЧЕНЬ № 3 работ по улучшению боевой и технической характеристики серийного танка БТ-7, выявленных в результате совещания» от 13.05.1938 г.
РГВА Фонд 4 Опись 19 Дело 55 лист 88 – 96
15) Замечания инж. Старкова о дефектах и недостатках танков (из опыта боев Хасан) вход. №516с от 4 апреля 1939
Интернет-ресурсы
16) Письмо М.И. Кошкина по вопросу уточнения тактико-технических характеристик танков БТ-2, БТ-5 и БТ-7 различных производственных серий от 05.06.39 г.
РГВА Фонд 31811 Опись 2 Дело 1141 лист 1 – 11
17) Сводка о ходе выполнения программы заводом № 183 за февраль месяц и перспективы выполнения квартальной программы в марте м-це с.г. № 100с от 26/II 1940 г.
РГВА Фонд 31811 Опись 2 Дело 1101 листы 134 – 136
18) «Альбом фотографий и характеристика танка БТ-7М» 1940 г.
Интернет-ресурсы
19) Акт № 010 от 6/IV 1940г
Интернет-ресурсы
20) ОТЧЕТ № 014 Бюро "540" от 21/V-40 года. По испытанию литых гусеничных лент из стали Гатфильда на танке "А-34".
РГВА Фонд 31811 Опись 2 Дело 1181 листы 119 – 126
21) "Доклад по танкостроению на заводе №183 за 1940 г." от 20/I-41 г
РГВА Фонд 31811 Опись 2 Дело 1068 лист 1 – 157
22) «ТАНК БТ-7. Руководство службы» 1941 г.
Интернет-ресурсы
23) СВОДКА Опытных работ, проведенных на заводе 183 по танкам за июнь месяц 1941 г.
ЦАМО Фонд 38 Опись 11355 Дело 279 Лист 109
24) "Приказ НКО СССР № 0042" от 19 июня 1941 г.
РГВА Ф. 4, оп. 11, д. 62, л. 201—203
25) Интернет-статья «Скорая помощь» для БТ - https://alternathistory.com/skoraya-pomoshh-dlya-bt-2/
И отдельно хотелось бы поблагодарить за их труды и, пусть и неосознанную, с их стороны, но все-таки поддержку:
Товарищей Макарова А.Ю. и Желтова И.Г. - https://t34inform.ru/index.html
Товарища Головашкина Эдуарда - https://format72.ru/viewtopic.php?f=9&t=130&start=45
Товарища Пашолока Юрия - https://dzen.ru/yuripasholok?utm_referer=www.google.com
Товарища Nikarios - https://nikarios.livejournal.com/
Авторов форума - http://voenspez.ru/index.php?board=1813.0
Сотрудников сайта - https://ww2.ru/
И прочих, безымянных товарищей (имя которым - Легион), увлеченно наполняющих интернет-ресурсы материалами по данной тематике! Уж простите, что так обобщенно и безлико, но вспомнить сейчас где и что я "захомячил" к себе на компьютер за те годы, что увлекаюсь БТ-ешками уже просто физически невозможно. 
Изменения в теме по состоянию на 04.02.23г.:
Пост по днищу корпуса готов;
В остальные посты правки вносились в гомеопатических дозах и как правило носили незначительный характер (похвастаться особо и нечем, но мне показалось, что это будет там не лишним...)
Традиционно - любая обоснованная критика, замечания, дополнения и только приветствуются!
(для полного счастья осталось... ...порыться в закромах на предмет максимально информативного фрагмента фотографии с удлиненной поворотной петлей крышки одностворчатого ящика ЗиП)
"Очень трудно найти черную кошку в темной комнате, особенно если ее там нет."
(Глеб Жиглов утверждал, что это Конфуций)
Ой, как долго я искал эти огромные петли, а они оказались самыми обычными...
Просто "упоровшись" в мелочи "не заметил слона".
Как итог, изменения в теме по состоянию на 28.01.23г.:
1) В пост по корме корпуса внес значительные правки по ящику ЗиП;
2) Потихоньку правлю по бортам и наполняю пост по днищу ...
Ну и как всегда - Любые замечания, дополнения и обоснованные возражения только приветствуются!
А зачем?
Ну... причин две:
Социальная - чтобы создать черновичок с "напоминалками" для постройки этого экспериментального представителя танка из отряда Пресмыкающихся, думаю что он будет полезен не только мне (ведь именно за подобного рода информацией люди и приходят на такие форумы)
Субъективная - как я уже говорил, есть у меня мечта взять когда-нибудь в руки модель из серии БТ в 72-ом которую не нужно будет тщательно дорабатывать напильником... А вдруг невозможное возможно?
Изменения в теме по состоянию на 21.01.23г.:
1) В пост "БТ-СВ-2 обр. декабрь 1938г." добавил "фишечку", которая возможно была присуща окончательной версии этого образца
2) Пост по ходовой окончательно и бесповоротно завершен;
3) В пост по корме корпуса внес некоторые правки и соображения (для полного счастья осталось облечь в удобоваримую форму мои мысли-скакуны домыслы по листу-жалюзи и фиксации листов бронировки гитары, а также порыться в закромах на предмет максимально информативного фрагмента фотографии с удлиненной поворотной петлей крышки одностворчатого ящика ЗиП
4) Открыл пост по бортам
5) В пост по башне добавил (чтобы не "просклерозить"
иллюстрацию по отбуртовке её нижнего края.
Товарищи!
Есть ли желающие изложить свои накопленные знания по маске орудия БТ-СВ-2 и внешнему виду ствола? (а может - и не только по орудию?)
45мм танковое орудие с 32 по 38 года прошло несколько модификаций, кто-то готов изложить свои знания матчасти в доступной форме?
P.S.: 5-ки и 7-ки - это не моя "тема"
Мне и двоек, с их многообразием по ходовой, корпусам и башням
- "за глаза"!
Честно скажу - "плаваю" я там по матчасти... Так, "по верхам нахватался" информации но не более
Пы.Пы.Сы.:
"Я - не волшебник! Я просто - учусь..."
Но очень мечтаю увидеть хоть одну нормальную модель танка из этой эпохальной серии
Выпуск модели планируется на февраль, говорят - что конструктивная критика приветствуется... А вдруг?
Старожилы этого форума уже давным-давно поняли кто автор этой модели и что именно ждет ее покупателей [:](
Но давайте попробуем хотя бы попытаться изменить ситуацию к лучшему?
Это штырь с ушком, фиксирует петли запора. Чтобы на каждую петлю отдельный замок не вешать.
Спасибо!
Кстати, на Вашем фрагменте этой фотографии разглядел что уголки к ящику закреплены сваркой, а не на метизы...
Как оно было на "Черепахе" разглядеть не вышло.
Но пока больше аргументов в пользу того что фиксация на метизы для одностворчатых ящиков нехарактерна от слова "совсем", т.к. гайки в этих местах на фотографиях встречаются только на двухстворчатых ящиках ЗиП, и то - далеко не всегда...
В общем, благодаря Вам, внес небольшие уточнения в пост по корме!
Башня БТ-СВ-2 (ноябрь-декабрь 1938 г.)
(В процессе...)
Итак какие "наброски мыслей" у меня есть на текущий момент по башне:
Согласно Учебника обязательного техминимума для командного и начальствующего состава РККА (Мото-механизированные войска) от 1937г. на крыше башни каждого уважающего себя танка должны быть:
1) люк для посадки экипажа
2) лючок для флажковой и/или ракетной сигнализации
3) головка(и) оптических приборов (на фотографиях отлично различим стакан для ПТ-1)

На фотографиях видна броневая заглушка отверстия для стрельбы из револьвера (на щеколде) вот такая, только расположение шляпки болта было зеркально этой схеме:
Т.е. шляпка болта (М12) щеколды, если смотреть на корму башни, располагалась слева от бронезаглушки
Диаметр башни по нижнему краю имел отбуртовку и был немного больше боковых "наплывов" на корпусе под ее погон, что в общем-то вполне логично т.к. при такой "асимметрии" горящая жидкость будет лучше стекать с брони на землю.
Крыша корпуса БТ-СВ-2
(В процессе...)
Днище корпуса БТ-СВ-2
Итак, о чем мы с полной уверенностью можем утверждать (перед тем как перейти к домыслам и догадкам):
1) Угол перехода нижнего наклонного листа носовой части в детали днища имел плавные закругленные очертания.
2) С левой стороны (по ходу движения) в днище отделения управления был установлен прямоугольный эвакуационный люк с закругленными краями. Данный люк, в отличии от аналогичной детали корпуса БТ-7М, был не свободно падающим, а откидным (на 2-ух петлях) и судя по отсутствию на его поверхности замочных скважин фиксировался он задрайками.
Снаружи были видны только осевые части петель, что говорит о том, что они или монтировались по внутренней поверхности люка и днища, либо были приварными (т.е. без карточных «лепестков» под метизы).
По форме люка, размерам, а также размерам и положению шляпок осей задраек на внешней стороне люка вполне можно ориентироваться на чертеж переднего люка А-20 (вряд ли его "сочиняли с 0" при наличии сходного образца...).
3) Нижний наклонный кормы остался от танка-"исходника" в неизменном виде. Соответственно и детали днища скорее всего подвергались переделкам только по мере необходимости, и полагаю что по большей части они сохранили свой первозданный внешний вид.
4) Все стальные трубы (кроме «посадочного места» управляемого колеса) для фиксации балансиров опорных колес и гитары расположены на тех же местах, что и у корпуса БТ-7. Если наложить узлы и агрегаты моторного отделения и отделения и отделения трансмиссии, а также детали днища корпуса, которые остались неизменными на профиль БТ-СВ-2 получится следующее:

Т.е. от кормы и до управляемого колеса днище «Черепахи» скорее всего выглядело именно так:
5) Управляемое колесо на БТ-СВ-2 было поставлено на стандартный балансир опорного колеса (с небольшими доработками) и т.к. он имел большую длину – его «посадочное место» сместилось вперед, увеличив длину днища. Угол поворота управляемых колес - 12°.
Скорее всего на корпусе-исходнике просто обрезали переднюю зауженную часть днища и приварили к ней новые детали…
Как итог – получаем примерно вот такой вид днища «Черепахи»:
P.S.: На БТ-7 в днище отделения управления помимо отверстия для слива воды были видны еще и вот такие расклепанные шляпки шпилек – удерживающие все механизмы управления и прочие детали на своих местах:

Но, судя по тому насколько широко применялись на БТ-СВ-2 сварные соединения, полагаю что и эти все узлы были тоже были именно приварены к новым деталям днища и лично я думаю, что моделировать их не стоит…
Глубоко сомневаюсь, что меняли расположение катков, вполне могут быть искажения фоток, а ленивец мог стоять, там на максимальном натяжении, а там на минимальном.
Таки есть правда в Ваших словах! "Поиграл" как смог в фоторедакторе с колесами и балансирами и выяснил, что если задать "Черепахе" тот же клиренс, что и у БТ-7 то колеса на корпусе будут расположены практически так же как и на "семерочке".
Т.е. "посадочные места" у балансиров и гитары (кроме балансира управляемого колеса – оно слегка «улетело» вперед, как и дно корпуса танка) остались примерно те же. А это говорит в пользу того что далеко всего не весь корпус изготавливался "с нуля" и в центральной его части скорее всего сохранились детали корпуса-исходника.
А подобный внешний вид (с заметно увеличенным расстоянием от центра переднего поддерживающего колеса до центра заднего поддерживающего) вызван только и исключительно тем, что клиренс БТ-СВ-2 на этом фото максимально "задран" под проходимость по снегу и пашне.
Управляемое колесо и переднее поддерживающее имели балансиры установленные по ходу движения, а заднее поддерживающее и движитель колесного хода имели балансир и гитару смонтированные против хода танка. Вот при регулировке пружин они и «разбежались» в разные стороны.
Удалил из поста про ходовую текст про отличия в геометрии ходовой, чтобы не смущать читателей этой темы данной информацией…
Но, как говорится - «есть нюанс»! Почти на всех фотографиях центр крышек ступиц расположен куда как ниже края бортовых экранов (которые, в свою очередь, были чуть ниже края дна корпуса, на величину отбуртовки), т.е. клиренс значительно больше, чем у БТ-7.
И он на фото даже больше тех 420 мм – которые указываются в некоторых источниках как одна из тех.характеристик «Черепахи» (т.к. центр колеса – это 415 мм + толщина тела трака – около 30 мм и в результате получается, что при 420 мм клиренса центр колеса однозначно должен неплохо так «спрятаться под юбкой»).
Поэтому эту картинку в теме все-таки оставлю… А вдруг кому-то захочется сделать всё строго по фотографиям?

Корма корпуса БТ-СВ-2 обр. ноябрь-декабрь 1938г. состоит из следующих базовых деталей: 1) съемный лист (крыша) отделения трансмиссии; 2) центральный лист кормы; 3) стальная труба с напрессованными и наваренными на ее концы картерами бортовой передачи; 4) нижний наклонный лист; 5) 2 листа бронировки гитары.
Основное отличие кормы БТ-СВ-2 от раннего (помимо «обвеса» ЗиП) – это то что была увеличена высота арок ходовой и над ними появились козырьки выполненные следующим образом: арка надрезалась по краям, после чего данный участок загибался вверх с формовкой, по бокам приваривались две треугольных пластины и по нижнему краю – полоса, чтобы нарастить его габариты.
Все листы кормы монтировались с перекрытием боковых листов корпуса (что очень хорошо видно на «Фото № 37» со снятыми задними угловыми листами боковой брони).
"Разберем" их по принципу сверху-вниз
1) Съемный лист (крыша) отделения трансмиссии – имела вырез в нижней части под кормовой жалюзи-лист вентиляции (на двух петлях) и два отверстия по бокам для выпуска концевых труб выхлопных коллекторов. Фиксировалась крыша отделения трансмиссии на 26 болтов (по 8 штук по бокам, включая угловые метизы), 4 – по нижнему краю (без учета угловых), т.е. по 2 с каждой стороны от жалюзи-листа и 6 (без учета угловых) – по верхнему краю.
10) Запасные траки располагались парами в верхних углах съемной крыши трансмиссионного отделения с выносом их крайних сторон и верхних краев за пределы листа.
Интересна их фиксация:
- верхние траки крепились через внутренние (относительно центра корпуса) отверстия первым и шестым болтами (без учета угловых метизов!) фиксации верхнего края крыши трансмиссионного отделения в их штатные "посадочные" отверстия корпуса;
- нижние траки (очень похоже что) имели стандартную для танков серии БТ фиксацию, т.е. надевались крайними (от центра копуса) отверстиями на резьбовые детали и фиксировались гайками.
Подкладка шайб под метизы не просматривается ни на одном из фото.
6) Выхлопные трубы выполнены на базе стандартных с развальцовкой нижнего края. Колено трубы изготавливалось из четырех деталей путем сварных соединений (два кольцевых шва и два прямолинейных).
А на этом фото хорошо видны стандартные сварные соединения труб
Монтировались трубы поверх колпаков с горизонтальной верхней площадкой схожих по своей конструкции с колпаками регулировочных стаканов подвески. Основное отличие – фланец по нижней части колпака охватывал его со всех сторон и фиксировался на крыше трансмиссионного отделения на 4 болта.
Трубы на корпусе были смонтированы немного асимметрично, планки поддержки труб уголком заводились под третий боковой болт (снизу, с учетом углового) фиксации крыши и фиксировались на листе через него же.
7) В нижней части листа, под углом с наклоном головок к оси танка располагались два 5-титонных бутылочных винтовых домкрата («ЗиЛ-5т»?).
Конструктив гнезд под домкраты явно отличается от стандартных, и вероятнее всего они были самодельными.
Лично мне их конструкция видится примерно так - лист металла, изогнутый на конус, две приварных пластины-фиксатора конуса на корпусе, 2 болта приваренных к конусу + полоска-фиксатор (одна из них имела не совсем ровную форму и дополнительное отверстие по центру) и две барашковых гайки:
Для наглядности - несколько иллюстраций о том как выглядел один из вариантов стандартного гнезда бутылочного домкрата (наиболее близкий по конструктиву к гнездам домкратов на БТ-СВ-2) ну и внешний вид самих домкратов:
Как правило домкраты в защитный цвет не окрашивались, но, справедливости ради, стоит отметить что есть пусть и редкие, но все-таки фото БТ-ешек, на которых "бутылка" домкрата явно окрашена в тот же цвет, что и корпус танка.
8) Лист-жалюзи фиксировался на двух внутренних петлях (снаружи видна только их осевая шарнирная часть)(В процессе)...
2) Центральный лист кормы имел изогнутую форму и фиксировался сварными соединениями к силовым деталям корпуса сверху и с боков, и к стальной трубе и картерам – снизу.
В верхней плоскости центрального листа располагался ящик ЗиП с фиксаторами под две БСЛ-110, задний фонарь и (топливная?!?) наливная пробка. 
С задним фонарем связан еще один из нюансов - отличающих раннюю "Черепаху" от поздней!
Чертежи заднего фонаря из альбома по А-20 для наглядности монтажа на броне

В нижней плоскости были приклепаны (на 6 заклепок каждая) 2 литых однорымных площадки для надевания буксировочных серег позднего типа и располагалась еще одна пробка (сливная?).
По бокам от картеров было по два отверстия для болтов – фиксирующих листы бронировки гитары. А по нижним краям центрального листа кормы - по два отверстия для болтов, фиксирующих нижние задние угловые листы боковой брони.
5) Как, и к чему, фиксировались нижние края листов бронировки гитары - ни на одном из фото не видно...
Фиксация, следуя логике, явно была разъемной и каким-то образом эти детали (вероятнее всего) крепились к крышке картера
(В процессе)
3) Задняя стальная труба корпуса с напрессованными и наваренными на ее концы картерами бортовой передачи – по центру трубы расположено отверстие с пробкой для набивания ее смазкой. В дне каждого картера также должны должны быть 2 отверстия для спуска и налива масла. Крышка картера крепилась к дну гайками в сторону от корпуса танка.
4) Нижний наклонный лист фиксируется сварными соединениями к стальной трубе и картерам, а снизу к днищу танка. По бокам листа ввернуты и расклепаны 12 шпилек (по 6 с каждой стороны) для крепления кронштейнов тормозов (данная деталь кормы осталась от танка-"исходника" в неизменном виде).
9) Ну и напоследок - ящик ЗиП - который тоже сам по себе очень интересен... На танках серии БТ было всего два вида (без учета самодельных!) кормовых ящиков для инструментов:
1) одностворчатые (поздние) - крышка которых имела отбуртовку вниз и фиксировалась на 4-ех петлях и 3-ех петельных запорах с проушинами (типа "рундук"
под навесной замок, корпус ящика отбуртовки не имел.
2) двухстворчатые (ранние) - крышки которых отбуртовки не имели, фиксировались на 3-ех петлях и 2-ух запорах каждая, по левой стороне правой крышки приваривалась полоса металла в нахлест по соседней крышке, корпус ящика имел отбуртовку верхнего края внутрь (на которую укладывались створки крышки

Оба типа ящиков имели сходное строение внутренних перегородок
И крепились к наклонному листу кормы на 3 уголка (2 снизу и 1 сверху по центру).
Эти уголки фиксировались к бронелисту кормы танка на болты, а к самому ящику:
1-ностворчатые (поздние) - сваркой;
2-хстворчатые (ранние) - встречается два варианта: либо сваркой, либо на болт с гайкой (гайками наружу, что логично т.к. внутри ящика помимо всего-прочего была еще и всякая "мелочушка" в мешочках-кисетах из брезента и отсутствие торчащих внутрь ящика резьбовых частей болтов обеспечивало этим-самым "чехлам для мелочей" дополнительную сохранность от разрывов).
На многих фотографиях БТ-ушек видно что в петельные запоры вставляли металлический прут на конце которого было загнуто кольцо под прямым углом к пласти прута (для экономии количества навесных замков, как на иллюстрации ниже).
И что же мы видим на БТ-СВ-2? На корме закреплен нетипичный двухстворчатый ящик, на крышках ящика закреплены 2 стандартных двухлепестковых фиксатора под две БСЛ-110 (без деревянной подложки под черенки лопат). И в процессе испытаний его еще и крепко помяли в верхнем правом углу.
Навесных замков ни на одной из фотографий "Черепахи" не наблюдается от слова "совсем", а крышка удерживается металлическим прутом с загнутым (по типу крюка) концом.
Но на одном из фото кроме двух лопат угадывается еще что-то третье. Лом, ключ для натяжки гусениц или труба-рычаг от составной версии этого ключа?
А ключевая нетипичность этого ящика ЗиП заключается в его происхождении
Т.к. его переделали, путем подрезки по длине, из стандартного двухстворчатого (судя по всему б/у, т.к. на всех фотографиях отсутствует крайняя справа поворотная петля).
Уголков для фиксации ящика к бронелисту кормы не имеется, и судя по всему его просто приварили к нему (без деталей-посредников).
Кстати, отверстий в стенках ящика от фиксации уголков на метизы разглядеть не удалось, и скорее всего изначально (еще при "первой жизни" этого ящика ЗиП) эти уголки крепились к нему сваркой, а затем были срезаны...
Ну и для окончательного завершения данного поста - пару иллюстраций о том как выглядели ключ для натяжки гусениц, труба-рычаг (на фото - она вместе с ключом) от его более поздей версии и БСЛ-110 (как говорится - на всякий случай).



Борта корпуса БТ-СВ-2 (ноябрь-декабрь 1938 г.)
В целом, корпус «Черепахи» выстраивался на базе корпуса танка БТ-7 (или БТ-7а) с двигателем М-17Т.

Все отличия бортов корпуса БТ-СВ-2 от его раннего варианта расположены на переднем и центральном верхних листах бронирования корпуса по левому борту.
Т.к. в более позднем варианте "Черепахи" там добавилось 6 петель для укладки брезента/масксети и антенный ввод рации.
Борта позднего корпуса БТ-СВ-2 состоят из следующих базовых деталей: 1) 3 верхних листа бронирования корпуса; 2) 3 нижних листа бронирования ходовой; 3) защита погона башни; 4) 3 колпака регулировочных стаканов рессор; 5) листы-жалюзи; 6) защита антенного вывода радиостанции (по левому борту
7) упоры с поворотными петлями и стандартные петли для укладки на бортах.
Правый и левый борта БТ-СВ-2 были почти зеркальными, асимметрия наблюдается по передним угловым листам верхней наклонной брони и по нижним краям листов верхней наклонной брони (связано с изготовлением их "вручную"
. Именно с них и начнем...
Асимметрия левого и правого передних угловых листов наклонной брони друг от друга - это количество болтов, фиксирующих их нижние края (левый борт - 14, правый - 13) и верхний край бронелиста (по второму ряду на левом - 6, на правом - 7), а также - расположение упоров с поворотными петлями и ответных петель для укладки гусеничных лент (по левому борту они располагались ближе к носу корпуса).
Непрямолинейность нижних кромок верхних листов брони была наиболее ярко выражена в 3-ех местах по правому борту (всем остальным в 35-ом и 72-ом масштабе полагая что можно и пренебречь, т.к. отразить эти незначительные и достаточно плавные радиусы при масштабировании вряд ли получится)
Нюансы отмечены, переходим к более симметричным деталям...
Верхние бронелисты корпуса
(В процессе...)
Бронелисты защиты ходовой
(В процессе...)
Лист бортовой защиты погона башни видимых признаков съемности не имеет и вероятнее всего фиксировался заклепками. Кстати, это единственная деталь борта которая не перекрывает собой стык с горизонтальными деталями корпуса. 
Колпаки регулировочных стаканов рессор - были трех типов (передний, центральный и задний) и располагались по бортам на одной оси.
Обратили внимание на барашковую гайку в верхней точке центрального колпака в первых 2-ух рядах фотографий?
Чуть позже мы к ней еще вернемся...
Колпаки состояли из трех деталей: кольца-основания с отверстиями под метизы, горизонтальной крышки и конусных стенок, соединялись эти детали между собой сварными швами.
Передний и центральный колпаки имели приблизительно одинаковый диаметр кольца-основания, фиксировались к листам брони на 4 метиза и имели небольшие отличия по высоте (передний был чуть выше).
Задний колпак имел кольцо-основание большего диаметра (процентов на 20) и был самым большим по высоте, крепился по краю листа из-за чего кольцо-основание имело подрезку (по форме листа) и фиксировался на 3 метиза.
Какими именно метизами крепились колпаки к наклонным бронелистам ни одна из фотографий однозначного ответа не дает.
Но! В Отчете по осенним испытаниям (ноябрь-декабрь 1938г.), на фотографиях с обильным снежным покровом, по левому борту в верхней точке фиксации центрального колпака появляется "барашек", это по-прежнему не дает никаких подсказок что моделировать (шляпки болтов или гайки) т.к. с равным успехом это могла быть как шляпка винта барашкового так и барашковая гайка...
Лично я склоняюсь к мнению, что фиксировались колпаки болтами (это технологичнее и проще в эксплуатации).
Бортовой лист-жалюзи
(В процессе...)
Защита антенного вывода радиостанции - располагалась по левому борту между 2 и 3 парами болтов - фиксирующих верхний край переднего углового бронелиста корпуса.
Фурнитура для укладки гусениц на бортах
Для укладки гусениц при переходе на колесный ход по низу верхних наклонных листов были приварены по 5 упоров (с каждой стороны) с поворотными такелажными приварными петлями по их верхнему краю.
Высота упоров - около 45 мм (в левой части иллюстрации можно примерно соотнести высоту упора с высотой шляпки болта).
И, соответственно, 5 петель над ними по оси примерно по центру между 3-им и 4-ым болтами (включая угловые) фиксирующими вертикальные стыки наклонных бронеплит защиты корпуса.
P.S.: По метизам на бортах корпуса четко привязаться-то и не к чему, но если просто прикинуть "на глаз" (не особо углубляясь в вопросы проекционной геометрии и линейных перспектив), то:
Очень похоже на то, что для фиксации бронелистов использовались болты М18 или М20, а для защиты ввода антенны и колпаков регулировочных стаканов рессор - БЧ М-8 - М10 (по ОСТ/НКТП 3522).
Ходовая БТ-СВ-2 (ноябрь-декабрь 1938 г.)
Гусеницы - мелкозвенчатые, укладка гусениц перед танком для сборки - четырехушковой стороной вперед.
Ленивец - позднего типа под 80-ый бандаж


Крышка ступицы вероятнее всего переходного типа (ни одно из фото не дает на этот вопрос однозначного ответа
, но не бронекрышка - это точно!). Вот такая:
Как точно выглядела фиксация коленчатой оси ленивца на корпусе это один из несколько "размытых" вопросов т.к. фотографий данного узла достаточно много но ни одна из них не вносит окончательной ясности...






Лично мне этот узел видится примерно так: на нижнем носовом листе приварены барабаны для коленчатой оси усиленные сверху дополнительными листами под углом; гайки коленчатой оси расположены на внутренних сторонах барабанов и слегка утоплены в нижний лист бронировки отделения управления...
Грузошины несущих колес - поздние (диаметром 830 мм.)
Управляемые колеса – штампованные раннего типа (с узким стопорным кольцом коробки цапфы).
Штампованное управляемое колесо раннего типа:
Уникальной чертой именно этого танка было то, что это единственный экземпляр из семейства БТ, на котором стягивающие болты на дисках управляемых колес ставились шляпками к корпусу (болты фиксации поворотного рычага скорее всего ставились тоже шляпками к корпусу), связано это с тем, что при такой конфигурации корпуса протягивать их после каждого пробега при штатной фиксации мягко говоря было очень неудобно
Т.е. в отличии от фото выше - снаружи должны быть корончатые гайки, шляпки болтов оставались только на стопорном кольце. И еще уникальная «фишечка» - на левом колесе вместо одной из корончатых гаек стяжных болтов стояла обычная гайка, без шайбы под ней (со шплинтом на торчащей резьбовой части болта).
Поддерживающие колеса и ведущие колеса колесного хода - штампованные 12-тиболтовые, крышки ступиц раннего типа.
Ведущие колеса гусеничного хода (задние) под мелкозвенчатую гусеницу - раннего типа.
P.S.: Подробно по матчасти ходовой есть в соседней теме, чтобы не лишний раз не дублировать одну и ту же информацию по форуму лучше дам ссылку - https://karopka.ru/forum/forum217/topic32482/
Отличия ходовой БТ-СВ-2 обр. февраля 38-ого от более поздних вариантов, это:
1) гусеничные колеса под крупное звено трака - штампованные 3-его или 4-ого типа (установлены несимметрично).
2) Крупнозвенчатые гусеничные ленты. И вот на них хотелось бы обратить особое внимание т.к. это одна из «изюминок» ранней версии «Черепахи» поскольку они на ней были разные!
Слева (по ходу движения танка) стоял один из вариативов лент позднего типа.
Гребень характерной округлой формы по торцам, с внешней части гребневого звена имеется овальная приварная пластинка. Гребневые траки с характерными круглыми следами от выштамповки гребня на опорной поверхности (имеет следы серой или серебристой краски на поверхностях траков).
Справа (по ходу движения танка) стояла лента раннего типа.
Гребень имеет плоскую поверхность по торцам, с внешней части гребневого звена имеется прямоугольная приварная пластинка. Безгребневые траки - с узкими следами от выштамповки паза по центру ребра жесткости на внешней поверхности (имеет следы черной краски на поверхностях траков).
Подвеска БТ-СВ-2 - по поддерживающим колесам и ведущим колесного и гусеничного хода полностью повторяла исходный вариант (БТ-7 или БТ-7а), а по управляемому колесу и ленивцу имела конструктивные отличия:
Переднее поддерживающее (управляемое) колесо в отличие от серийных машин крепилось не на качающемся рычаге, а на стандартном балансире поддерживающих колес, с небольшими доработками. А именно - на ось балансира наварено ушко для соединения с коробкой цапфы управляемого колеса а в самом теле балансира количество отверстий для серег с ушками увеличено до 3-ех.
Скорее всего через серьги в крайних отверстиях фиксировался кронштейн (стойка) под пружинную рессору, а центральное оставалось незадействованым... Примерно так:
Ну и, на всякий случай, "вид изнутри" на колеса и балансиры БТ-7.
БТ-СВ-2 обр. декабрь 1938г.Основные отличия финального варианта "Черепахи" от версии на начало осенних испытаний - это то, что для придания бронеэкранам ходовой части необходимой жесткости в процессе испытаний добавили специальные перемычки (с выходом мест их фиксации на лицевую часть бортового экрана).
На экстерьере это проявлялось следующим образом - на нижних частях экранов ходовой добавились по два крепления с обеих сторон (шляпка болта - примерно М20):
Как именно эти "специальные перемычки" выглядели между бортом и экраном информации нет, но рассуждая логически - скорее всего это были вот такие талрепы (у которых рым-болт заменили обычным):
По перемычкам в центральной части экрана ходовой - ничего подобного на фото не наблюдается, что весьма закономерно т.к. в этой части за экраном располагался топливный бак.
Рассуждая логически - наиболее оптимальный вариант доп.фиксации на данном участке - это приварная пластина на внутренней поверхности экрана (в районе отбуртовки) через отверстия в которой осуществляется фиксация к нижней бронезащите топливного бака.
Дополнительно - по левому борту в верхней точке фиксации центрального колпака имеет смысл заменить шляпку болта на "барашек" (похоже на то, что болт был утрачен в процессе испытаний и его просто заменили тем, что было под рукой).
Судя по обильному снежному покрову эти фотографии скорее всего относятся к более позднему периоду испытаний, а так как у наших людей "нет ничего более постоянного, чем временное"
- есть все шансы на то, что эта "фишечка" дожила и до монтажа спецперемычек для большей жесткости бронеэкранов.
Доброго времени суток!
На фоне анонса скорого выпуска модели БТ-СВ-2 имеет смысл углубиться в матчасть этого харизматичного экспериментального образца.
По исторической справке не буду заниматься копипастом и просто пока предлагаю всем интересующимся пройти вот по этой ссылке: https://topwar.ru/15285-legkiy-tank-bt-sv-2-cherepaha.html
Кстати, согласно Ведомости наличия и состояния матчасти НИ Полигона по состоянию на 1 апреля 1941г. "Черепаха" еще числилась среди музейных экспонатов "Кубинки", дальнейшая ее судьба неизвестна...

А мы с Вами попытаемся в этой теме разобрать все заклепки нюансы с точки зрения моделирования. 
По мере доработки и модернизации опытного образца «Черепахи» можно выделить 4 следующих варианта для моделирования БТ-СВ-2 :
Ранний образец (см. фотодокументы из альбома от 19 февраля 1938г.)
Основные отличия: крупнозвенчатые гусеницы, гусеничные колеса - штампованные (3-его или 4-ого типа), нет триплексов, башня справа без П.Т-1, нет антенного выхода на корпусе танка, на корпусе нет ящика ЗИП, запасных траков и домкратов, на носу над арками ленивцев таранные усиления.
Образец с деформирующей маскировкой с испытаний танка пробегом, период - ориентировочно с марта по октябрь 1938г. (но по ряду косвенных признаков большинство фотографий мартовские).
Основные отличия: на танке – маскировочный кожух, башня полуукрыта брезентом, мелкозвенчатые гусеницы, ведущие колеса гусеничного хода (задние) под мелкозвенчатую гусеницу раннего типа, установлен ящик ЗИП, люк для выброса гильз и эвакуации под радистом-механиком, над ленивцами увеличены по высоте арки корпуса под ходовую.
Образец - ноябрь 1938г. (начало осенних испытаний).
Основные отличия: установлены триплексы, башня получила стакан под установку перископического прицела, сзади на башне – пистолетный порт, справа на корпусе танка появился стакан с антенным выводом, на корпусе размещены запасные траки и домкраты, арки ходовой на корме также "подросли" и обзавелись козырьками.
Образец - декабрь 1938г. Основные отличия - для придания броневому прикрытию ходовой части необходимой жесткости создатели ввели в конструкцию специальные перемычки (с выходом мест фиксации на лицевую часть бортового экрана).
В следующих 3-х постах выложу все что накопил по:
- раннему образцу,
- БТ-СВ-2 в маскировочном кожухе
- финальному варианту ноября-декабря 38-ого.
[*]
А далее будем потихоньку разбирать все "заклепки" и начать, предлагаю с самого позднего образца, как наиболее детализированного (пойдем от сложного – к простому).
Р.S.: Почти все фотографии взяты отсюда: http://voenspez.ru/index.php?topic=129457.0 чертежи типовых деталей корпуса и башни отсюда (из альбомов по его ближайшему потомку - "А-20"
: https://t34inform.ru
Остальные – источников уже и не вспомню (да простят меня люди их выложившие), так что в качестве источника иллюстраций укажу политкорректное - «ресурсы Интернет»
, а в качестве одного из информационных источников не могу не упомянуть статьи Юрия Пашолока - https://yuripasholok.livejournal.com/ (если кто-то с его трудами еще не знаком - рекомендую к прочтению, там очень много "вкусной" информации для моделистов
).
Р.Р.S.: Любые замечания, дополнения и обоснованные возражения только приветствуются!
Натяжное колесо (ленивец).
Всего, судя по фотографиям, было 2 основных варианта ленивцев (и несколько модернизаций их деталей).
Все они имели наружный диаметр 504 мм и посадочный диаметр – 400 мм.
Ленивец служит для натяжения гусеницы и состоит из: коленчатой оси, цельнолитого двухдискового колеса с проточкой под гребни траков по центру и 5-ю ребрами усиления на внешних частях дисков между ободом и ступицей, на ободы напрессовывались и приваривались 2 бандажные шины, снаружи ступица ленивца закрывалась крышкой, по внутренней стороне – сальниковой крышкой (обе крышки фиксировались на 5-ть метизов в отверстия по центру утолщений в основании ребер усиления).
«Разбор матчасти», как и с опорными колесами, начнем с крышек ступиц. Принципы вариативности данной детали полностью повторяют логику изменений в крышках ступиц опорных колес и движителей колесного хода:
Натяжное колесо (ленивец) обр.1932г.
Коленчатая полуось с малым «вылетом» (расстояние между центрами ее концов – 80 мм), натяжной эксцентрик имеет форму диска, обода дисков литого колеса шириной чуть менее 60 мм (основное визуальное отличие ранних дисков от их более позднего варианта – это то, что края ребер усиления дисков подходят в плотную к внешнему краю обода, а также то что внешние края металлических бандажей установлены почти в уровень с краями обода), сальниковая крышка сложной формы с 5-ю выступами по внешнему краю с отверстиями под фиксирующие ее болты.
Стоит отметить, что внутренняя поверхность диска ленивца раннего типа на БТ-2 в Кубинке имеет сразу две литых маркировки.
Насколько это явление было распространено для ленивцев образца 32-ого года - пока не ясно...
Натяжное колесо (ленивец) обр.1937г.
Введен усиленный кривошип ленивца с увеличенным «вылетом», его натяжной эксцентрик утратил форму диска и стал более массивным, форма сальниковой крышки стала более простой в виде широкого кольца и фиксировалась на прямошлицевые винты-потай (т.к. выступающие шляпки болтов мешали подвижности кривошипа).
80-ый ленивец (2-ух типов).
Выросла ширина ободов дисков литого колеса, посадочная ширина металлических бандажей с грузошинами увеличилась до 80 мм. Основное визуальное отличие поздних дисков от ранних – это то, что края ребер усиления дисков расположены на некотором расстоянии от внешнего края обода, а также то что внешние края бандажей заметной «ступенькой» выступают над краями обода (по внутренним краям торцевые поверхности диска и бандажа по-прежнему выставлялись с допуском в расхождении не более 0,5 мм.).
Сборочный чертеж ленивца А-8 (июль 1939г.)
Красным отмечены отличия позднего типа ленивца от его первоначальной версии.
На текущий момент известно о наличии 2-х типов литых дисков "80-х" ленивцев, визуально отличных между собой по форме ребер усиления на поверхности обращенной к корпусу: 
Стр.216 "Руководства службы" по танку БТ-7 от 1941 года дает иллюстрации сразу обоих типов дисков ленивцев, и больше диск ленивца типа А нигде не встречается. Т.к. ленивец ранней 34-ки конструктивно во многом повторяет натяжное колесо типа Б напрашивается вывод что скорее всего он является наиболее поздним вариантом диска...
Маркировка грузошин ленивцев осуществлялась по тем же принципам, что и на остальных колесах:
Вариативы ленивцев – а как же!
Помимо многочисленных фактов применения крышек ступиц и сальниковых крышек различных годов выпуска на ленивцах разной ширины больший интерес представляют варианты с установкой 80-ых бандажных шин на ранние ленивцы с ободами под 60 мм.
Основное визуальное отличие данного вариатива – это значительное расстояние между краем бандажа и внешним краем обода.
Наиболее часто подобные ленивцы встречаются на фотографиях по Зимней войне
"Вживую" эту модернизацию ярко демонстрирует левый (по ходу движения танка) ленивец БТ-7 из Музея отечественной военной истории в Падиково:
Для желающих детальнее вникнуть в матчасть - традиционно выкладываю соответствующие страницы «Руководств» и «Наставлений» ...
Обратите внимание:
- на стр.16 «Наставления по танку БТ-5» указано, что диаметр ленивцев составляет 550 мм, при этом на «Общем виде танка с габаритными размерами», на стр.10 этого же «Наставления» указан диаметр – 504 мм!
- на стр.12 «Наставления по танку БТ-7» от 1938г. указаны те же 550 мм.
В наставлениях 1932г. и 1941г. и в "Альбоме чертежей и фотографий БТ-7М" диаметр ленивца снова указан как 504 мм.
Но фотографий – подтверждающих увеличение диаметра ленивца почти на 10% мне найти не удалось…
Скорее всего в «Наставлении по танку БТ-5» на 16-ой странице имеет место банальная опечатка (тем более, что опечатки в этом документе уже гарантированно есть подробнее – см. пост по крупнозвенчатым гусеницам), которая потом «перекочевала» и в «Наставление» от 1938 г.













Oleg1962
А я всё жду когда кто-нибудь догадается выпустить универсальные 3D-декали для отечественной авто/бронетехники периода ВОВ в 72-ом масштабе...
Нужно всего-то: фары, задние фонари, цифры литые, ремни крепежные (желательно двухсторонние) и самое главное - сварные швы и шляпки метизов в ассортименте (заклепки, шляпки болтов и винтов в асс., гайки и т.д.) размерами от 0,2 до 0,6-0,8
Это сильно облегчило бы жизнь моделистам слепого масштаба. Да и в 35-ом, я так думаю, подобные наборы тоже были бы востребованы.
Поддерживающие колеса и ведущие колеса колесного хода (штампованные).
Всего было 3 типа штампованных поддерживающих и ведущих колес:
1) 6-тиболтовое раннее колесо (ввод в производство – не позднее мая 1934г.)
2) 12-тиболтовое колесо (ввод в производство – не позднее 1935г.)
3) 12-тиболтовое усиленное колесо (ввод в производство – не позднее 2-ой половины 1937г.).
Традиционно пост будет разбит на несколько блоков и содержать в себе информацию только по экстерьеру колес, а для желающих детальнее вникнуть в матчасть – приложу сканы соответствующих страниц «Руководств службы», «Наставлений» и альбомов с чертежами.
Общие характеристики:
Основными деталями поддерживающих и ведущих колес колесного хода являлись: штампованные диски с бандажами и грузошинами, ступица и крышка ступицы.
Стальная литая ступица по наружным краям имела конусообразную форму, посредине располагался венец с проточками с обеих сторон для посадки дисков и шестью отверстиями для прохода болтов, фиксирующих диски. В лицевой ее части (обращенной наружу по отношению к корпусу танка) по центру между отверстиями венца располагалась масленка под винтовой шприц.
Со стороны корпуса ступица закрывалась кольцом уплотнения (на ведущих колесах оно фиксировалось на 6 болтов, на поддерживающих – на 5), снаружи – крышкой.
Основное различие (визуально!) между поддерживающими и ведущими колесами колесного хода, кроме числа болтов на кольцах уплотнения с внутренней стороны, заключалось в крышках ступиц.
И поэтому «разбор матчасти» по данным элементам ходовой хотелось бы начать именно с них и их вариантов исполнения, т.к. в эту деталь неоднократно вносились изменения. Изначально они были штампованными стальными с плоской поверхностью в верхней их части, но уже по опыту гражданской войны в Испании была выявлена недостаточная защита шарико- и роликоподшипников ходовой от поражения пулями и осколками что привело к инициации работ по повышению пулестойкости данных узлов (к примеру – в «ТТХ на проектирование и изготовление легкого танка БТ-9 (на базе агрегатов БТ-7)» от 16.02.37г. этот момент отдельно был отмечен к доработке).
Все улучшения ходовой части танков серии БТ производились строго по принципу полной взаимозаменяемости агрегатов и механизмов на ныне существующем парке машин, что закономерно привело к наличию крышек различного типа в рамках ходовой одного танка и на различных вариантах колес.
Наиболее нагляден в этом плане БТ-2 c пушечно-пулемётным вооружением в Кубинке (2 варианта штампованных дисков и 3 типа крышек ступиц поддерживающих колес), да и БТ-5 на мемориальной экспозиции перед музеем «Прорыв блокады Ленинграда» также интересен своей «разносортицей» по крышкам ступиц и дискам (2 варианта штампованных дисков и по 2 типа крышек ступиц поддерживающих и ведущих колес).
Крышки ступицы ведущего колеса колесного хода – были чуть более массивными по ширине и высоте (т.к. должны были скрывать под собой еще и блокирующее кольцо, шпильки и т.д.) по сравнению с крышками ступиц на поддерживающих колесах.
По сути все типы крышек ступицы ведущего колеса являлись скорее колпаками поскольку фланец данных крышек имел отбуртовку - слегка перекрывающую лицевой край ступицы. По высоте эти крышки ступицы так же были более массивными и даже ее ранний вариант имел небольшой вынос за габаритные размеры колеса по ширине. По мере ее модернизации (изменения толщины и формы) этот вынос становился все более и более явным.
Всего было три варианта данных крышек:
1) Ранняя крышка ступицы ведущего колеса – имела более широкий диаметр внешней площадки и малую толщину, в силу чего ее внешние габариты не выступали за габариты кольцевого утолщения ступицы;
2) Броневая крышка ступицы ведущего колеса – получила форму внешней площадки более точно повторяющую форму блокирующего кольца (уменьшился диаметр внешней площадки) и немного нарастила толщину, благодаря чему ее габариты незначительно превысили габариты кольца ступицы в диаметре и «подросли» по высоте;
3) Полусферическая бронекрышка ступицы ведущего колеса – получила более округлые, пулестойкие формы и стала гораздо массивнее по толщине. Габариты крышки довольно заметно превысили габариты кольца ступицы и еще больше стали выступать над внешним краем колеса по ширине.
Вне зависимости от года выпуска и варианта исполнения крышка ведущего колеса фиксировалась к ступице только на 3 болта М10 (крышка ступицы поддерживающего колеса - на 5). Согласно чертежам и схемам первые два типа крышек крепились на метизы со стандартными шляпками болтов, а полусферическая бронекрышка – на пулестойкие. Но как свидетельствуют фотографии, по факту крепили на то что было «под рукой», поэтому вполне можно встретить как ранние крышки – с пулестойкими шляпками метизов, так и поздние – с обычными.
Крышки ступицы поддерживающего колеса – так же были трех типов, и по сути являлись крышками в чистом виде поскольку их фланец отбуртовки не имел. Они просто накладывались поверх торца ступицы (и имели тот же диаметр) и фиксировались на 5 болтов М10.
По высоте: ранняя крышка ступицы поддерживающего колеса не выступала за габариты колеса по ширине, броневая крышка – получила незначительный вынос за эти габариты, а полусферическая бронекрышка – выступала за габариты колеса уже более «весомо».
Принципы их вариативности по типам – те же, что и на крышках ведущего колеса (поэтому чтобы не повторяться – просто приложу аналогичную иллюстрацию).
6-тиболтовое (раннее) штампованное колесо
Ступица имела венец с проточками с обеих сторон и шестью отверстиями, поверх него накладывались диски после чего все фиксировалось на призонные болты (М20). Болты ставились шляпками к корпусу танка, а корончатыми гайками со шплинтами и шайбами - наружу.
Диски штампованные, стальные, профиль диска имеет округлую форму. Края дисков загнуты, на эти ободы напрессовываются и привариваются бандажи с резиновыми шинами.
Детальнее по матчасти 6-тиболтовых колес тут:
Вариативы:
1) 6-тиболтовое колесо, дискам которого дали вторую жизнь…
2) 6-тиболтовое колесо с усиливающим кольцом под метизами (подозреваю, что причина по которой оно было приварено - та же что и выше, смена разношенных точек фиксации к ступице).
И это было не столь уж и редкое явление:
12-тиболтовое штампованное колесо

Внесены следующие изменения: 1) изменена форма выштамповки дисков (они приобрели менее радиальный, угловатый профиль
2) увеличена ширина обода; 3) количество отверстий для монтажа дисков увеличено до 12-ти, по 6 отверстий по двум диаметрам в шахматном порядке (внутренний ряд, по венцу ступицы, под метизы М20, внешний ряд – под М16
4) для увеличения жесткости колеса между дисками по внешнему диаметру отверстий установлены 6 распорных втулок с отверстиями, через которые проходят стяжные болты (иногда вместо них ставились гайки).
Порядок монтажа метизов – тот же, что и на ранней версии (т.е. шляпки болтов обращены к корпусу танка, а корончатые гайки с шайбами и шплинтами – наружу).
Подробнее по матчасти метизов – см. ОСТ/НКТП 3312 и 3522
Детальнее по матчасти 12-тиболтовых колес тут:
12-тиболтовое усиленное колесо
Внесены следующие изменения – для увеличения опорных поверхностей дисков (в местах посадки призонных болтов) приварены кольца по внешней стороне.
Вариативы 12-тиболтовых усиленных колес были прямо взаимосвязаны с методами фиксации наварных усиливающих колес.
"Тип А": На усиленных «12-тиболтовках» образца 2-ой половины 37 года наварные кольца фиксировались непрерывными швами как по внешнему, так и по внутреннему диаметрам.
Хорошо эти швы видно на этой фотографии:
"Тип Б": На чертежах А-8 (БТ-7М) 39-ого года шов показан только по внутреннему диаметру, и он был сплошным.
Данный вариант фиксации наварных колец хорошо видно на этом фото:
"Тип В": По аналогии с конструкцией аналогичных узлов на ранних Т-34 наварные кольца по внешнему диаметру фиксировались на 6 прерывистых швов (по внутреннему полагаю, что дело обстояло аналогичным образом и располагались они в шахматном порядке, по отношению к «прихваткам» кольца по внешнему диаметру).
Ну и, конечно же, нередко можно встретить фотографии машин с колесами разных типов:
Еще немного по матчасти 12-тиболтовых усиленных колес можно узнать тут:

Завершить этот пост хотелось бы еще 2-мя фотографиями:
1) "Вид изнутри" на 12-тиболтовые штампованные колеса (слева - усиленное, справа - обычное) и их балансиры:
2) Изумительно "расписной" образец 12-тиболтового штампованного поддерживающего колеса с ранней крышкой ступицы "болотного сохрана" с "Линии Сталина".
По клейму "12183": на чертеже от 39 г. эта деталь обозначена как "12-18-6", где "12" - это № группы деталей, формирующих опорные (поддерживающие) катки, "18" - это № детали внутри этой группы, а "6" - это количество внесенных конструктивных изменений на момент утверждения чертежа (и цифра "3" на клейме лишний раз говорит о том, что дата выпуска это диска - намного ранее 1939 г.).
А ведь еще, где-то на колесе должно быть и клеймо ударного типа с о военной приёмке... 
Поддерживающие колеса и ведущие колеса колесного хода (литые).
Внешне ранние (литые) поддерживающие и ведущие колеса колесного хода не имели между собой визуальных различий.
Колесо представляло собой 2 диска, соединенные вместе при помощи 6-ти стяжных болтов М16 на спицах дисков (болты ставились шляпками к корпусу танка и корончатыми гайками с шайбами и шплинтами - наружу) и 6-ти болтов для фиксации ступицы (на поддерживающих колесах применялись обычные болты с диаметром резьбовой части 16 мм, на ведущем колесе колесного хода – спецболты, которые одновременно соединяли ступицу с блокировочным кольцом).
Края дисков имеют обод, на который напрессовываются бандажи с резиновыми шинами (помимо напрессовки бандажи примерно до конца 1934 г. фиксировались от смещения стопорными болтами, которые позже были заменены сварными швами)
Ступица внешнего диска имела отверстие с масленкой под винтовой шприц.
С наружной стороны на ступицу навинчивался колпак, застопоренный от самовывинчивания болтом М8х20мм. с шайбой Гровера.
Что интересно - согласно 5-ой главы Боевого устава от 1932г. (см. пост о крупнозвенчатых гусеницах в начале этой темы) стопорный болт колпака полагалось откручивать командиру башни ключом 3/8". 3/8 дюйма - это 17 мм. "под ключ", что соответствует болту М10...
Т.е. было два варианта стопорных болтов, особенно если вспомнить о том, что переводить документацию и производство в метрическую систему начали уже после запуска Б-Т в производство и этот процесс окончательно завершился уже перед запуском в производство БТ-5.
На боковой поверхности колпака, согласно иллюстрации №162 в Наставлении УММ РККА по танку БТ от 1932 г., располагались 6 реберных выступов (в верхней его части) и 6 пазов под стопорный болт (в нижней):
Но на литых колесах БТ-5 в Кубинке количество пазов в нижней части колпака на разных колесах отличается, есть колпаки с 1 пазом и есть с 6-ю.
Судя по историческим фотографиям – эта вариативность имела место быть и на серийных машинах.

На текущий момент наиболее адекватная версия (объясняющая разное количество пазов на колпаках) это то, что колпаки с 6-ю пазами предназначались исключительно для ступиц движителей колесного хода (для удобства монтажа/демонтажа при переходе с колесного хода на гусеничный и обратно), а на поддерживающих колесах колпаки устанавливались с 1 пазом.
Но документальных источников подтверждающих эту версию или опровергающих ее мне найти пока не удалось...
Литая маркировка на внешней поверхности колпаков ступиц литых колес:
На колпаках того же БТ-5 в Кубинке можно увидеть 2 варианта литых маркировок.
Например, на этом колпаке данного музейного образца читается маркировка "Т3 12-5".
"Т3" - это индекс танка Кристи обр.1930-31 г.г. на базе которого и создавалась линейка БТ.
№ "12-5" - полностью соответствует № этой детали по сборочному чертежу (часть которого дана в качестве иллюстрации в Наставлении по танку БТ от 01.04.32г.).
Где "12" - это № группы деталей, формирующих опорные (поддерживающие) катки и двухдисковые движители колесного хода, а "5" - это № детали внутри этой группы
А на этом - четко различима маркировка «Б.Т. 14-4 / 2»
"Б.Т." - одно из первых названий БТ-2 (с 31-ого года по 33-ий),
"14-4 2" - также очень похоже на № детали по производственному чертежу ("14" , если мне не изменяет память, это № группы деталей ступицы опорного колеса...)
Эта вариативность (по крайней мере в части как отсутствия так и наличия маркировок на колпаках...) подтверждается историческими фотодокументами. Например на этих фотографиях маркировка хоть и нечитаема, но по крайней мере видно что она там точно есть.
P.S.: справедливости ради стоит отметить, что фотографий литых колпаков ступиц без маркировок в разы больше, а это скорее говорит в пользу того, что наличие маркировки - это было не такое уж и распространенное явление на практике...
Детальнее по матчасти литых поддерживающих колес и ведущих колес колесного хода тут:

Грузошины несущих колес.
Всего на танках серии БТ было три вида несущих двухдисковых колес: задние ведущие колесного хода, поддерживающие и передние (управляемые). Вне зависимости от вида колеса (и варианта дисков) каждый диск был оснащен металлическим бандажом шириной 110 мм с резиновыми сплошными грузошинами, имеющими 40 амортизационно-охлаждающих отверстий (диаметром 12 мм) и такое же количество парных «плечевых ребер» по опорной поверхности.
Несущие колеса имели два типоразмера: диаметром 815 мм (ранние) и диаметром 830 мм (поздние)
Диаметр дисков колес (660 мм) и ширина бандажей оставались неизменными и причина наличия двух типоразмеров несущих колес в том, что примерно в 1934-35гг. были внесены изменения в резиновые грузошины, а именно – была увеличена их высота, их профиль стал ближе к прямоугольному, изменилась форма амортизационных отверстий и были разнесены по плоскости ее охлаждающие элементы (отверстия и т.н. «плечевые» ребра), а сами плечевые ребра заметно уменьшились по своим размерам.
Эволюция грузошин (слева-направо):
1 литое ведущее колесо колесного хода обр. 1932г.;
2 штампованное ведущее колесо колесного хода обр. 1934г.;
3 штампованное поддерживающее колесо обр. 2-ой половины 1937г.
В заводских условиях несущие колеса типоразмера «815» ставились на БТ-2 и БТ-5 первых партий выпуска, все остальные машины серии «БТ» уже при выпуске оснащались несущими колесами типоразмера «830».
Но, т.к. срок службы резиновых грузошин не бесконечен, вполне можно встретить фотографии танков 1932-34гг. выпуска на колесах диаметром 830 мм, что свидетельствует о замене изношенного бандажа в конце 34 года и/или в более поздние сроки.
На что обращать внимание при постройке модели по историческому прототипу – это на тип дисков (логично, что диски поздних типов по умолчанию не будут иметь «низкопрофильной» резины) и взаиморасположение отверстий и ребер грузошин.
У бандажей типоразмера «815» отверстия амортизации и охлаждения визуально расположены по среднему диаметру шин, а у типоразмера «830» - отверстия визуально расположены в нижней половине шины, а рёбра – в верхней.
Бандажи самых ранних выпусков (на литые диски колес) фиксировались методом напрессовки на обод дисков и стопорились от смещения болтами (примерно - М10-М12), ввинченными под углом к центру двухдискового колеса.
Стопорные болты располагались на ободе диска по центру между его рёбрами усиления.
Не позднее 1934г. от стопорных болтов полностью отказались, заменив их на сварные швы длиной 30-40 мм, расположенные в шахматном порядке по 8 шт. с обеих сторон. Фиксация на более длинные швы не рекомендовалась т.к. это приводило к перегреву соединения деталей, их короблению и отслаиванию резины от бандажа.

Маркировка грузошин - это отдельное интересное поле для исследований, непаханое от слова "совсем"...
Грузошины на танки серии БТ выпускались в 2-ух местах:
С 1931 г. - Ленинградский шинный завод (с 1930 по 1962 - был самостоятельным предприятием за рамками производственного объединения "Красный треугольник"
С 1933 г. по 1940 г. - Ярославский резино-асбестовый комбинат (ЯРАК)
С 1941 г. - Ярославский шинный завод (в 1940 г. ЯРАК был разукрупнен и шинный завод стал самостоятельным предприятием)
Маркировка наносилась двумя методами - литьем и горячим клеймением и могла располагаться как по одной поверхности, так и разносится по разным сторонам грузошины.
Клеймением наносился уникальный серийный номер изделия и дата выпуска, а также отсылка на материал - из которого выполнен резиновый массив.
Судя по фотографиям места нанесения "горячих" клейм четко не регламентировались и подобные клейма можно встретить как по стороне шины бандажной с литой маркировкой (а иногда и прямо поверх нее, подробнее - см. пост о ленивцах) так и по т.н. "чистой" стороне грузошины
Литая маркировка - обозначала типоразмер изделия и № вулканизационной формы, обе информационные маркировки, по состоянию на 39-ый год, располагались по одной поверхности резинового массива под углом примерно 90° относительно друг друга.
№ вулканизационной пресс-формы: на текущий момент есть фотографии четырех, встречающихся на обрезинке бандажей танков БТ, литых номерах - это 8, 9, 11 и 19 (см. пост об управляемых колесах)
Типоразмер: судя по фото, в зависимости от даты выпуска, имел два варианта нанесения. Это формат "наружный диаметр бандажа Х ширина металлического бандажа" и "наружный диаметр бандажа Х ширина металлического бандажа / посадочный диаметр бандажа"
Шины, на 100% выполненные из синтетических каучуков имели вот такую предупреждающую спец.маркировку (полагаю, что это было связано с их менее длительным сроком службы).
При изучении сохранившихся "родных" грузошин другой техники довоенного выпуска становится очевидным, что эта маркировка являлась типовой (а значит были и ОСТы ее регламентирующие).
Например - клейма и маркировки грузошины ленивца "Коминтерна" образца сентября 1939г.
Большинство сохранившихся до наших дней маркировок и клейм "укладываются" в вышеизложенные параметры, но есть среди находок и музейных экспонатов и нетипичные образцы...
Наиболее необычны по внешнему виду маркировки левого (по ходу движения) управляемого колеса БТ-5, поднятого из Невы, т.к. на ней кроме очень нестандартного по виду, размеру и зеркальности серийного номера есть еще и клеймо с читаемой надписью: "К-4"!
Что это? Штамп ОТК (контролер №4) или клеймо изготовителя?
Индекс "К-4" с 1936г был названием Ленинградского опытного завода полимеров (создателя отечественного плексигласа и бронестекла "сталинит"
и если это клеймо завода - то этот музейный экземпляр может заиграть неожиданными новыми красками... 
Или, например, горячее клеймо на внутренней поверхности бандажа левого ленивца БТ-2 в Кубинке, на котором читается нечто вроде ВИ 588 Б...
Тема маркировок достаточно интересна, но для большей ясности нужно как минимум изучить довоенные ОСТы и ГОСТы (введены с 1940г.) по Бандажам стальным обрезиненным, Шинам массивным и Шинам бандажным которых на просторах интернета пока найти не удается...
Ну и конечно же - очень вдумчивое и кропотливое изучение всех сохранившихся в музеях родных грузошин БТ-ешек и находок поисковиков...
Если кому-то требуется изготовить модель сгоревшей БТ-ешки - бандаж опорного колеса без грузошины выглядел следующим образом: два узких бортика по краям и три плоских ребра по окружности.
Ну и напоследок - обратите внимание на левую пару управляемых колес сего примечательного экспериментального образца.
Заднее управляемое колесо в этой паре явно имеет диаметр 830 мм, а переднее – 815 мм (а правая пара скомпонована наоборот - переднее – 830 мм, а заднее - 815 мм).
Фотография взята из этой замечательной статьи - https://alternathistory.com/skoraya-pomoshh-dlya-bt-2/ которая, думаю, будет полезна желающим придать индивидуальности своей модели радийной "семерочки".
"Сказки о покраске" (и не только
) или небольшое лирическое отступление.Потихоньку набрасываю себе план-черновик для постройки
и делюсь с Вами своими наблюдениями...
Итак:
Столь любимые многими "провисы" гусениц на моделях.
По крупнозвенчатым гусеницам:
Согласно Наставления УММ РККА по танку БТ от 1932г. (стр.175) продолжительность работы гусеницы напрямую зависела от надлежащего ухода и регулировки натяжения.
Для периода 1932-34гг. нормальным натягом гусеницы считалось положение, когда верхняя ее часть свободно лежала на всех колесах (см. «Наставление УММ РККА, танк БТ» стр. 175-176).
По состоянию на 1934 г. (согласно Наставления АБТВ РККА по танку БТ-5, стр. 355) требования по уровню натяжения гусеницы ужесточились и нормальным натягом стало считаться, когда гусеница лежит на двух средних колесах, слегка провисая между ними. Для шоссе – натяг больше, для пашни и снега – меньше нормального.
Крайне малый срок службы гусениц – это был «больной» вопрос для танкистов на БТ-ешкках, и подавляющее большинство фотографий подтверждает соблюдение требований Наставлений.
По мелкозвенчатым гусеницам, судя по фото, вышеуказанные требования сохранялись (но утверждать это с опорой на документальные источники не могу, т.к. в и-нете есть сканы только части страниц Руководства службы по танку БТ-7, и информации о натяге гусениц на этих сканах нет).
ИМХО – провисы уместны только при постройке танка в т.н. "г0внах" (т.е. по итогам езды по пашне и раскисшему грунту), или при постройке машин зимнего периода эксплуатации.
Ржавчина на гусеницах или какие цвета применять при их окрашивании?
Для «затравки» - обратите внимание на необычайно светлые цвета гусениц на подавляющем большинстве чб фотографий.
Судя по заводским фотографиям новых танков стальные траки имели защиту от коррозии (воронение или окрашивание), но даже в этом случае, при самом минимальном пробеге, соединения ушков моментально натирались до блеска.
Кстати, чем еще интересно это фото - на нем траки имеют примерно те же оттенки серого, что и детали корпуса - расположенные под этими же углами. Т.е. цвет траков не черный, а скорее красный или зеленый...
По танкам, переданным в части: в целях сбережения материальной части 50% танков должны были находиться в неприкосновенном запасе, 25% — эксплуатироваться в размере 50% от установленной нормы и 25% — в пределах полной нормы эксплуатации (затем капремонт и все по новой).
По эксплуатируемым машинам – понятно, что защитное покрытие достаточно быстро стиралось, но после каждого пробега ходовую должны были отмывать, протирать неокрашенные детали насухо, а затем промасливать. Срок службы гусеницы был невысок и при таких условиях эксплуатации они физически не успевали заржаветь до уровня внешнего вида сельхозтехники.
ИМХО – при постройке машин данного типа наиболее корректным будет окрашивание их в стальной цвет (с небольшим добавлением черного или серого цветов, для «тусклости» и имитации естественной патины + конечно же натертые до блеска ушки траков). Ржавчина если и имела место быть, то только в труднодоступных местах, т.е. между ушками и в отверстиях для шпор.
По машинам неприкосновенного запаса – это самый интересный вопрос, который хотелось бы обсудить отдельно.
Документальных источников о том, как «консервировался» парк техники НЗ я не нашел, но судя по некоторым фотографиям создается такое впечатление, что гусеницы явно имеют следы окрашивания, из-под которого видны остатки воронения на стальном фоне (интересно какого она была цвета - серого или «серебрянки»?).
И для примера приведу фотографию "беговых дорожек" на гусеницах Т-34 (они от мелкозвенчатых траков танков БТ отличаются в основном своей шириной), который эксплуатируется 1 раз в году. Как видно - даже при таких простоях ржавчина на траках присутствует буквально в гомеопатических количествах.
Что еще хотелось бы отметить - в зимний период эксплуатации (а еще при продолжительном "забеге" по пескам) траки самообдирались до голого металла и блестели на солнце. т.к. грузошины бандажей БТ сильно нагревались при длительных переходах, передавали тепло на траки и они покрывались тонким слоем воды/льда.
Окрашивание колес.
1) Металлические бандажи гусеничных движителей под мелкозвенчатую гусеницу не окрашивались.
2) Наличие защитной окраски на метизах (болтах и гайках) колес оправдано только на новых машинах и танках из НЗ. Т.к. уже после первых 50 часов пробега на них должны были остаться только некоторые следы окраски, поскольку согласно Наставлений все полагалось проверить, протянуть, заменить поврежденные шплинты, снять крышки ступиц для смазки подшипников и т.д.
ИМХО – при постройке не «парадных» вариантов моделей корректнее будет окрасить метизы в светлый металлик и затем пройтись по ним сухой кистью для имитации остатков защитной окраски.
В качестве исторического примера приведу вот такую фотографию помытого танка сразу после ТО:
А если хочется немного разнообразить модель (в том числе и снятую с хранения) - можно один-два метиза на колесах окрасить только в светлый металл имитировав тем самым замену самовывинченного и утерянного при движении болта. Примерно вот так:
По окрашиванию БТ в целом
Для начала хотелось бы обратить внимание читателей на вот такой любопытный документ от 4 апреля 1939 года (за авторством инженера по тех.части танковой бригады Старкова Д.П.) - ярко иллюстрирующий отношение к матчасти в кадровых частях РККА:

ИМХО: с учетом изложенного в нем слепо следовать схемам окраски от изготовителей моделей, которые, к примеру, настойчиво рекомендуют красить глушители строго в цвета ржавчины - не стоит. Сомнительно, что в довоенный период в кадровых частях Красной Армии могли "заколхозить" матчасть до такого состояния...
Да и с потертостями, сколами и царапинами, при постройке машин данного периода, тоже лучше не перебарщивать. Безусловно они имели место быть, но регулярно подкрашивались.
По цветам для защитной краски - "Доклад по танкостроению на заводе №183 за 1940г." отмечает: "Качество покраски в 1940 г. значительно улучшилось за счет перехода на краску 4БО и введения грунтовки краской 4БО вместо сурика."
Т.е. хоть рецептура 4БО и была разработана в 37-ом году, но на танках серии БТ она оправдана только при постройке машин периода 40-ого года и позже. И при постройке БТ-7М цвет 4БО внутри моторного отделения куда как более вероятен, чем сурик.
Т.к. вряд ли нормальный кадровый командир будет спокойно смотреть на зоопарк расцветок техники во вверенном ему подразделении, логично будет предположить, что с переходом завода-изготовителя на новый защитный цвет более старые машины из наличия в частях тоже "подтягивалась к единообразию" при текущем тех.обслуживании парка (принцип "пусть безобразно - зато единообразно" все-таки свят для любой армии мира).
При постройке же машин периода 39-ого года и ранее - окрашивать в 3Б АУ, а внутренние поверхности моторного отделения - в железный сурик (красно-кирпичный).
Ну и последний штрих к портрету БТ нам дает "Приказ НКО СССР № 0042" от 19 июня 1941 г. (выборочные цитаты):
"...Танки, бронемашины, командирские и другие спецмашины мотомеханизированных и других войск окрашены красками, дающими яркий отблеск, и хорошо наблюдаемы не только с воздуха, но и с земли. ..."
"... Приказываю: ..."
"...5. К 1.7.41 г. провести окраску танков, бронемашин, командирских, специальных и транспортных машин. Для камуфлированного окрашивания применить матовые краски применительно к местности районов расположения и действий. Категорически запретить применять краски, дающие отблеск."
Окрашивание штока рессоры управляемого колеса:
Подъемные и тяговые приспособления
Несимметричность левой и правой ходовой
При постройке модели по историческому прототипу имеет смысл обратить внимание на симметричность ходовой части по левой и правой сторонах танка.
Достаточно часто ведущие колеса гусеничного хода устанавливались со смещением (т.е. без соблюдения осевой симметрии), что, закономерно, приводило к различному положению гусениц по левой и правой сторонам.
На фотографиях это сразу бросается в глаза по расположению гребневых траков, например: 

Опорные колеса тоже довольно часто имели асимметрию между внутренними и внешними грузошинами и это легко объяснимо - они имели по внешнему диаметру 40 отверстий и такое же количество парных ребер, а диски имели по внутреннему диаметру 6 точек фиксации к ступице. И чисто математически (40/6=6,66666.....) их полная симметричность могла быть только если бандажи с грузошинами напрессовывать на диски строго по меткам, а затем диски монтировать на ступицу в строго определенном порядке по отверстиям.
Полагаю что подобной упоротостью в "технопорно" никто не страдал и как итог - симметрия грузошин по ребрам и отверстиям - это скорее случайность (но подобные примеры тоже есть, см. первую иллюстрацию в абзаце про потеки масел).
А значит при склеивании дисков между собой вполне можно их слегка провернуть, чтобы придать модели большую живость и правдоподобность.
Кстати, с попытками установить симметрично (по метизам) опорные колеса и ведущие движители колесного хода тоже никто не заморачивался даже в заводских условиях.

"Если из советской техники перестало течь масло - значит оно кончилось!" (народная мудрость)
Согласно текста уже упомянутого "Доклада по танкостроению на заводе №183" даже на закате выпуска БТ-ешек течь смазки из-под крышек ступиц и стопорных колец (вокруг коробки цапфы управляемого колеса) не принималось изготовителем за дефект. Поэтому имитация кольцевых потеков масла вокруг этих элементов при постройке модели более чем оправдана, и выглядело это вот так:

Следы от толкателей на коробках цапфы управляемого колеса и швы от стыка пресс-форм.
1) По моим наблюдениям второе место среди из самых распространенных нареканий в комментариях к моделям БТ (первое уверенно держит монтаж управляемого колеса "вверх ногами"
- это то, что на цапфе управляемого колеса не убирают следы от толкателей...
Теперь у авторов этих моделей есть хорошая "отмазка" - это исторически достоверно т.к. на настоящих боевых машинах в чем-то схожие дефекты литья именно на этих деталях нередко имели место быть!
2) По излишкам пластмассы на стыке пресс-форм колес с грузошинами - тоже не стоит сразу спешить зачищать их совсем уж "под ноль" на всех колесах, т.к. и это не считалось браком при изготовлении оригинальных деталей и на фотографиях они встречаются достаточно часто (особенно - когда на танке грузошины новые).


[JUSTIFY]Ведущие колеса гусеничного хода (задние) под мелкозвенчатую гусеницу.
Ходовая часть танка БТ-7 по своей конструкции первоначально была почти идентична ходовой части танка БТ-5. Однако начиная с 1937 года в нее начали вноситься существенные изменения. Была введена мелкозвенчатая гусеница из 70 траков, в связи с этим изменилась конструкция ведущего колеса гусеничного хода. Оно получило шесть роликов для зацепления с гребнями траков вместо имевшихся ранее четырех. Был ликвидирован резиновый бандаж (заменен на металлический, за счет чего диаметр гус.движителя уменьшился до 634 мм). Причина замены материала бандажа - постоянные жалобы на его срыв при эксплуатации.
Всего, судя по фотографиям, было 3 варианта штампованных дисков гусеничных колес под мелкозвенчатую гусеницу и последняя модернизация (условный 4-ый вариант колес) была связана с изменением конструкции осей роликов.
[/JUSTIFY] Снова, для экономии "букафф", разобью информацию на несколько блоков: общие (краткие) характеристики всех движителей под мелкозвенчатые гусеницы и характерные особенности по различным типам.Общие характеристики:
Основными деталями ведущего колеса являлись: ступица, два штампованных диска колеса, два стальных бандажа, шесть роликов и шесть осей с втулками на них. На стальной ступице ведущего колеса имелся фланец, к которому с помощью двенадцати стяжных болтов М20 крепились диски колеса (болты ставились шляпками к корпусу танка и корончатыми гайками - наружу).
В каждом диске, диаметром 555 мм, имелось шесть отверстий для выхода грязи и снега. На обод каждого диска напрессовывался и приваривался с двух сторон (в 12 местах швами по 5 мм в шахматном порядке) бандаж шириной 45 мм, имевший на наружной торцевой стороне цилиндрическую проточку.
Кроме этого в каждом диске имелось по шесть отверстий для прохода осей роликов к которым были приварены бонки с прорезями под шплинты. Рабочая поверхность роликов выполнена в виде желобка.
Ступица была закрыта броневой крышкой, крепившейся к ступице с помощью пяти болтов.
Гусеничное колесо раннего типа.
Отбуртованное гусеничное колесо (обр. второй половины 1938 г.)
Края отверстий для самосброса грязи и снега, попадавших между дисками колес во время движения танка, для придания дискам большей жесткости были плавно отбуртованы.



Усиленное гусеничное колесо (обр. второй половины 1939 г.)
Т.к. по итогам эксплуатации продолжали поступать претензии на биения диска относительно ступицы - его конструкция была пересмотрена в сторону большего усиления которое визуально выражалось в следующем:
1) Центры отверстий под метизы, фиксирующие диски к ступице, разнесли по осям с центрами отверстий для самосброса грязи и снега;
2) Отверстия для самоочистки гусеничного движителя увеличили в диаметре и увеличили высоту их отбуртовки;
3) Диски "подросли" по толщине.
Для наглядности - приведу графическое сравнение обоих типов усиленных дисков:
Согласно текста Доклада по танкостроению на заводе №183 от 20 января 1941 г. в 1940 г. усиленное гусеничное колесо было введено в серийный выпуск и тем самым нарекания на его биение были устранены. Новый гусеничный движитель стал выглядеть следующим образом:
Усиленное гусеничное колесо с модернизированными осями роликов.
Согласно эксплуатационным отзывам имелась еще одна системная проблема у колес гусеничного хода - это регулярный срыв шплинтов, фиксирующих ось ролика.
Как итог - были внесены изменения и ось с лицевой стороны приобрела коническую головку-эксцентрик (со срезом по шляпке для упора в обод колеса и фиксации оси без возможности её проворачивания). 
Вариативы? Приведу для наглядности всего один, из неизбежных при эксплуатации взаимозаменямых деталей различных типов, нестандартный внешний вид гусеничного колеса - это диски самого раннего типа с заменой осей роликов на их модернизированный вариант.
Клейма: после установки гусеничного колеса на машину на торцах ступицы, под броневой крышкой, выбивалось ПР или ЛЕВ (т.е. «правое» или «левое»).
Фотографий этих ударных клейм пока найти не удалось...
Ведущие колеса гусеничного хода (задние) под крупнозвенчатую гусеницу.
Всего, судя по фото, было 5 вариантов гусеничных колес под крупнозвенчатую гусеницу: 1 ранний (аналог "Кристи"
и 4 типа штампованных.
Все они имели диаметр 640 мм и ширину – 203 мм.
Гусеничное колесо обр.1932г. (аналог М1931, №2501, конструкции Дж.У.Кристи)

Диск выполнен в форме квадрата, в углах квадрата расположены 4 отверстия для прохода пальцев и два отверстия в средней части диска, соосные с отверстиями в его двух крайних углах. На него монтируется диск обода с резиновым бандажом (так же с 4 отверстиями для пальцев). В отверстия обода и диска вставляются пальцы и фиксируются на корончатые гайки со шплинтами. Далее на среднюю (выпуклую) часть пальца надевается ролик, поверх него - второй диск обода и все это также фиксируется на корончатые гайки со шплинтами.
Колесо в сборе надевается на полуось, далее ввинчиваются стопорящая чашка, стопор чашки и пробка чашки. Судя по фото - пробка чашки имела 2 паза под ключ (и вероятнее всего, по аналогии с более поздними его вариантами, удерживалась от самовывинчивания на стопорных винтах с прямым шлицем).
Гусеничное колесо штампованное Тип 1

Ступица имела диск с 6-ю отверстиями, поверх нее накладывались диски после чего все фиксировалось на стяжные болты (болты ставились шляпками к корпусу танка и корончатыми гайками - наружу). Сами диски имели 8 отверстий для самовыдавливания грязи и снега и 4 отверстия для пальцев (по краям которых приваривались шайбы). Края дисков загнуты и на них напрессовываются и привариваются бандажи с резиновыми шинами (площадь контакта борта диска и бандажа - примерно 50% от ширины последнего).
Пальцы с роликами цилиндрической формы фиксируются с обеих сторон корончатыми гайками со шплинтами.
Фланец чашки и пробка по окружности имеют 2 паза под ключ. Судя по чертежу чашка полуоси и пробка чашки удерживались от самовывинчивания на стопорных винтах с прямым шлицем (как минимум по одной в пазах этих деталей).


Гусеничное колесо штампованное Тип 2 (введено не позднее 1934г.)
Внесены следующие изменения: 1) Количество отверстий для пальцев увеличено до 8-ми (по мере их износа пальцы переставлялись в свободные отверстия; 2) шайбы по краям отверстий заменены на бонки с проточкой под чеку пальца (и соответственно - увеличена длина пальцев
3) Ролики по окружности получили желобок для лучшего сцепления с гребнем гусеницы; 4) увеличена ширина загнутого края диска, контактирующего с бандажом (площадь контакта составляет примерно 80-90% от ширины бандажа).
Т.е. основные визуальные отличия - это бонки, шириной примерно 50% от ширины бандажа и гайки - наружный край которых почти сравнялся с краем бандажа. 
Детальнее по матчасти штампованных гусеничных колес тут:
Гусеничное колесо штампованное Тип 3
Изменены чашка полуоси и пробка чашки. Судя по фото фланец чашки полуоси имеет уже 6 пазов, а пробка чашки по окружности имеет 4 паза.


Гусеничное колесо штампованное Тип 4
Во второй половине 1937г., для устранения проблематики с течью смазки, взамен заглушки введена крышка ступицы (полусферической формы) с прокладкой из прессшпана, крепящаяся к ступице с помощью пяти болтов через отверстия на фланце крышки.




Гусеничное колесо Тип 4 (без крышки ступицы, корончатой гайки и прокладки).
Вариативы?
Их есть у меня!))))
Внимательно считаем количество стяжных болтов да гусеничном колесе БТ-5-ИС образца 1936 г. (и сразу спойлер - их 12!)
Больше мне такого нигде не встречалось, поэтому пока не "всплывут" фотографии серийных машин с подобными дисками будем считать это уникальной "фишкой" именно данного опытного образца.
Маркировка грузошин гусеничных движителей под крупное звено скорее всего осуществлялась по тому же принципу, что и на всех остальных колесах (сохранившихся до наших дней грузошин гусеничных колес слишком мало для однозначного суждения по данному вопросу):
Рубрика: "Музейные истории".
Долго думал стоит ли выкладывать это сюда, и если да - то в качестве чего?..
Поскольку гусеничные движители БТ-5 в Кубинке представляют из себя вот такое вот чудо:
Диски колес гусеничного хода под крупнозвенчатые траки с приваренными к ним металлическими бандажами вместо стандартных грузошин
Ни одной фотографии, или документа исходя из которых можно было бы сделать вывод что подобное имело место быть я так и не нашел (хотя искал достаточно упорно).
Поэтому пришлось изобрести новый "подраздел", а историческую достоверность этого экспоната оставим на совести сотрудников музея...