Алексей Приветствую!
Если устраивает, лучше на ты 
Ну да, по такелажуб- типа "насмешка", я понимаю что Адамец делал свою реконструкцию на основании данных доступных в его время, так что по большому счёту - не насмешка, просто константация факта... с тех пор много воды утекло и "современные " реконструкции такелажа значительно отличаются от того что предлагал Адамец , надо полагать в сторону большей аутентичности и исторической достоверности...
если менять схему такелажа, то не думаю что это как то кардинально коснется мест крепления ходовых концов бегучего такелажа, все снасти в принципе остаются те же самые... и места крепления ходовых концов , те же по идее должны остаться...обойдется думаю без переделок...
мне кажется стоит обратить большее внимание на стоячий такелаж , штаги- ванты там и внести нужные коррективы...
выше по ветке я ссылался на более адекватные варианты проводки такелажа для СМ, в моём понимании конечно, они более адекватны моменту, чем то, что предлагал в своё время Адамец...
Кстати, надо упомянуть недавно выпущенный кит СМ от Никитина при непосредственном участии в разработке дизайна Евгения Тропмана, а у него очень скрупулезный подход к деталям и историческому соответствию... можно его разработку взять для постановки такелажа...
по большому счёту это тотьже Мондфельд или Пастор, с адаптацией к постройке модели...как вариант...
https://shipsofscale.com/sosforums/threads/spanish-galleon-1607-lee-imai-1-100-completed.7827/
https://karopka.ru/forum/forum190/topic10341/?PAGEN_1=89
https://www.rijksmuseum.nl/en/rijksstudio/1845326--kirill-shabanov/collections/arts
Здесть интересная информация по теме
https://www.shipmodeling.ru/phpbb/viewtopic.php?t=6679
а это СМ от П.Никитина
https://www.shipmodeling.ru/phpbb/viewtopic.php?t=74558
... по моему некий микс из Адамеца и Мондфельда получился... мне лично более импонирует вариант чисто Мондфельда или его художественная адаптация от Б. Ландстрема...
У Адамеца , эти парные штаги ,выбленки и псевдо бакштаги мне как красная тряпка...и Никитин их на своём ките представил зачем то... но как говорится, хозяин- барин!
))
https://shipsofscale.com/sosforums/threads/spanish-galleon-1607-lee-imai-1-100-completed.7827/
https://karopka.ru/forum/forum190/topic10341/?PAGEN_1=89
https://www.rijksmuseum.nl/en/rijksstudio/1845326--kirill-shabanov/collections/arts
Кирилл, потратил день, почитал оба топика. Ну, если честно, по Евгению Тропману просто потеря времени.
При всем уважении, не сомневаюсь что он специалист и очень хороший, но в течении 13 лет строить корабль и так его и не сделать...
Постройки с фотографиями и комментариями по факту практически нет. Из его топика я практически ничего не почерпнул.
Просто для понимания - я не историк, и не знаю что к какой эпохи больше подходит.
Я технарь, у меня есть чертеж, у меня есть фотографии готовых моделей по этим чертежам, соответственно я по ним и делаю. Ну плюс-минус конечно. Кое-какие моменты конечно я уже просекаю по историческим эпохам.
Соответственно мне требуются либо правильные чертежи, либо фотографии постройки. Тогда и я также сделаю как там.
По Павлу Никитину чуть лучше, но тоже как-бы не особо помогло. Много споров и философии, а постройки как таковой практически нет.
Но зато есть чертежи. Правда я их до этого уже изучал. Ну и как бы спорных моментов там конечно много.
Ведь как там сказано - это не модель СМ, а модель реплики 1890 года. А это две большие разницы. Соответственно там практически все то же что у Адамеца, ну да ты уже и так писал об этом.
У Адамеца , эти парные штаги ,выбленки и псевдо бакштаги мне как красная тряпка...и Никитин их на своём ките представил зачем то
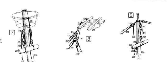
Думаю, что надо разбирать проводку стоячего такелажа по-мачтово наверное. Коллеги, я тут не силен. Если поможете добрым словом, буду признателен.
Вот схема стоячего такелажа от Мамоли от которого я пляшу:

Не знаю, загрузится ли картинка. Там очень большое разрешение. Хотя пожалуй я все чертежи выложу. Так нагляднее будет да и кому-нибудь пригодится может быть.
Сразу хочу оговориться, что треугольные юферсы менять не буду. Слишком много времени и нервов я на них потратил!
Привет,
Алексей, Игорь,
Да мусинги ! ... 
такелаж подробно показан в анатомии судов Колумба от Ксавьера Пастора - титульный лист этой анатомии я выше постил( книжку эту можно свободно в сети скачать если нет)... + чертеж рангоута и такелажа по Мондфельду и рисунки Бьорна Ландстрема, тоже выше я постил...
мне представляется этого вполне достаточно что бы набросать свой вариант такелажа отличный от Адамеца...
кстати Пастор в своей книге рассматривает и комментирует все построенные реплики СМ... интересно сравнить ...
У тебя же корпус готовый и смотрится поинтереснее на мой взгляд, чем предлагает П.Никитин... а по такелажу - у него фотки очень качественные - всё можно хорошо рассмотреть и взять на вооружение какие то элементы...если понравилось..,
Евгений , я так понимаю, не стал строить модель...он в последнее время разрабатывает чертежи - котовые комплекты для постройки модели...на этом сконцентрировался ...получается отлично - взять хотя бы тот же галлеон ГХ по Акеру в его версии , чертежи - бомба!!!
https://shipsofscale.com/sosforums/threads/spanish-galleon-1607-lee-imai-1-100-completed.7827/
https://karopka.ru/forum/forum190/topic10341/?PAGEN_1=89
https://www.rijksmuseum.nl/en/rijksstudio/1845326--kirill-shabanov/collections/arts
Мамолиевские чертежи -
они же не требуют полной переделки, только некоторая корректировка нужна...
в тех моментах про которые мы говорили... мне кажется это вполне возможно и не составит большого труда и не потребует переделок в уже установленных на модели элементах...
https://shipsofscale.com/sosforums/threads/spanish-galleon-1607-lee-imai-1-100-completed.7827/
https://karopka.ru/forum/forum190/topic10341/?PAGEN_1=89
https://www.rijksmuseum.nl/en/rijksstudio/1845326--kirill-shabanov/collections/arts
Алексей Лоторев
[Xavier_Pastor]_The_Ships_of_Christopher_Columbus(BookFi) (1).
https://shipsofscale.com/sosforums/threads/spanish-galleon-1607-lee-imai-1-100-completed.7827/
https://karopka.ru/forum/forum190/topic10341/?PAGEN_1=89
https://www.rijksmuseum.nl/en/rijksstudio/1845326--kirill-shabanov/collections/arts
Всем добрый день. Ксавьер Пастор конечно же у меня есть. Я собственно почему к этой книге не особо в качестве источника присматриваюсь - там попадаются то там то здесь разные косяки.
Например выбленки, или брашпиль из другой эпохи. Ну и т.д. и т.п. Поэтому, как-то...
Но так как Кирилл говорит что чертежи Адамеца не совсем скажем так корректны, стал изучать книгу заново. Ну и тут опять же возник сразу вопрос, точнее два.
Мачты.
Вопрос1.
Адамец предлагает такой подвес рея:
Пастор предлагает так:
Внимание вопрос - для того исторического периода оба варианта подходят или Адамец опять намудрил?
Вопрос 2.
Топы мачт.
Пастор в книге прилагает такой рисунок мачт.

Рисунок не совсем понятный - там на топе что? Отдельно прикрепленный сверху блок или реально утолщение мачты? В утолщение не верю. Как по мне, так глупость какая-то - зачем так делать?
А вот у Адамеца:

Ну как бы лучше и понятнее, но мне не нравятся такие короткие верхушки. Флаг-то за что крепить, за воздух?
В связи с этим вопрос - а может использовать третий вариант, такой как я делал на своей Пинте и Нинье?
Тут вроде все на своих местах - блок сверху и флаг уверенно держится...
Это на реплике Пинты
Что посоветуете?
Привет,
Я бы , лично, делал всё так( такелаж имеется ввиду) как на рисунках Ландстрёма, Мондфельда и на последней реконструкции СМ из анатомии Пастора - тот вариант что на обложке, только что ванты без выбленок... на рисунках Б.Ландстрема СМ показана во всех ракурсах и с кормы, и с носа, и боковичёк, и в разрезе!... вся инфа есть в деталях... и такелаж отлично прорисован! Если чего непонятно то более качественная графика на чертеже Мондфельда...
https://shipsofscale.com/sosforums/threads/spanish-galleon-1607-lee-imai-1-100-completed.7827/
https://karopka.ru/forum/forum190/topic10341/?PAGEN_1=89
https://www.rijksmuseum.nl/en/rijksstudio/1845326--kirill-shabanov/collections/arts
на рисунках Б.Ландстрема СМ показана во всех ракурсах и с кормы, и с носа, и боковичёк, и в разрезе!... вся инфа есть в деталях... и такелаж отлично прорисован!
Добрый день. Пытался найти этого автора и его книги. Все что смог это книга "Парусники". Но там Санта Марии нет. Сама книга правда довольно интересная, красивая...
Пишут что еще он автор книг "The ship" и "Колумб". Возможно эти рисунки есть там, но найти их в интернете так и не смог. Может кто поделиться? Из рисунков смог найти только это.
Коллеги, просьба актуальна. Не могу найти те рисунки Ландстрема, про который Кирилл говорит. Есть у кого в наличии?
Привет, не всегда есть доступ к сети... пара другая рисунков... где скачал уже и не помню...
https://shipsofscale.com/sosforums/threads/spanish-galleon-1607-lee-imai-1-100-completed.7827/
https://karopka.ru/forum/forum190/topic10341/?PAGEN_1=89
https://www.rijksmuseum.nl/en/rijksstudio/1845326--kirill-shabanov/collections/arts
Вот интересно ..кто был курица а кто яйцо?... Мондфельд или Ландстрём?... сравните рисунки что выше постились , боковички Ландстрёма и Мондфельда..,?
https://shipsofscale.com/sosforums/threads/spanish-galleon-1607-lee-imai-1-100-completed.7827/
https://karopka.ru/forum/forum190/topic10341/?PAGEN_1=89
https://www.rijksmuseum.nl/en/rijksstudio/1845326--kirill-shabanov/collections/arts
Кирилл, спасибо за картинки. Изучил, подумал, посмотрел и сделал как ты и предлагал вместо фордуна на фоке третью ванту. Фотки вечером сделаю.
А вот дальше небольшой ступор. На этих схемах фока-штаг идет через блок на бушприте и уходит куда-то на борт. Такое физически может быть?
По моим подсчетам диаметр фока-штага в реальности должен быть примерно 9 см. Как его можно завести через блок (и какого размера должен он быть?) и потом еще как-то закрепить на палубе?
Ни на одну утку он не залезет, да и гнуть его я думаю нереально. Может все-же есть смысл закрепить его как-нибудь так?
Привет,
Да уж, этот вариант заводки ф.штага смотрится " не очень" ... можно такие варианты ,к примеру, реализовать...

либо,как Игорь советуе - вооружить глухим....
ещё как то видел на реплике судна Барентца, завести с шпрюйтами и юферсом...
https://shipsofscale.com/sosforums/threads/spanish-galleon-1607-lee-imai-1-100-completed.7827/
https://karopka.ru/forum/forum190/topic10341/?PAGEN_1=89
https://www.rijksmuseum.nl/en/rijksstudio/1845326--kirill-shabanov/collections/arts
Насчёт размеров блоков... я так понимаю , что до 17 го века они были намного крупнее в размерах чем мы привыкли видеть на более современных судах... взять хотя бы изображения судов у Карпаччо, что выше по ветке постились... там все блоки изображаются гигантских каких то размеров... так что если на этой реконструкции СМ блоки смотрятся непропорционально большими, то это можно наверное считать " намеком" на эту особенность раннего такелажа, другое дело что авторы изобразили блоки" современной" формы- конструкции! А вот это как то совсем не в тему... 
ps
Ландстрём предлагает более" реалистичные "варианты ...
https://shipsofscale.com/sosforums/threads/spanish-galleon-1607-lee-imai-1-100-completed.7827/
https://karopka.ru/forum/forum190/topic10341/?PAGEN_1=89
https://www.rijksmuseum.nl/en/rijksstudio/1845326--kirill-shabanov/collections/arts
Игорь, Кирилл, спасибо за ответ. Правильно ли я понимаю, что глухой штаг, это грубо говоря штаг, который напрямую крепится к бушприту?
Так как это показано у Мондфельда под номером один? Правда там говорится о фор-стень-штагах... А вариант, который показан на первой гравюре Кирилла это видимо номер два?
Или лучше использовать вариант четыре? На гравюре не понятно идет конец на борт или нет. 
Так-то я лично за вариант 4 голосую, т.к. на бушприте уже сделал утку по центру под это дело
Привет!
Я тоже за 4й!
https://shipsofscale.com/sosforums/threads/spanish-galleon-1607-lee-imai-1-100-completed.7827/
https://karopka.ru/forum/forum190/topic10341/?PAGEN_1=89
https://www.rijksmuseum.nl/en/rijksstudio/1845326--kirill-shabanov/collections/arts
Привет,
я бы сделал 4 потому что мне нравится!
))
Потом это - функционально, легко набить - расстравить при необходимости...
на старинной картинке опять же, что то похожее наблюдается...
https://shipsofscale.com/sosforums/threads/spanish-galleon-1607-lee-imai-1-100-completed.7827/
https://karopka.ru/forum/forum190/topic10341/?PAGEN_1=89
https://www.rijksmuseum.nl/en/rijksstudio/1845326--kirill-shabanov/collections/arts
Тема эта, такелаж судна 15 го века, вообще то довольно мутная
))
Что бы что то однозначно утверждать... но форма блоков и способ обвязки - есть конкретика - см. нао Матаро, блоки Мэри Роуз пусть не совсем точно но очень близко...в книжках Ландстрема есть материал про старинный такелаж.... вариант в последнем посте про обвязку круглого блока, мне кажется не совсем в тему...надо ориентироваться на Матаро и МР хотя бы, ну и что там ещё близко к теме...
https://shipsofscale.com/sosforums/threads/spanish-galleon-1607-lee-imai-1-100-completed.7827/
https://karopka.ru/forum/forum190/topic10341/?PAGEN_1=89
https://www.rijksmuseum.nl/en/rijksstudio/1845326--kirill-shabanov/collections/arts
Вот, если честно, мне 4 пункт тоже просто НРАВИТСЯ. Трудно конечно при этом сохранять рассудок и логику... Поэтому и прошу аргументации. А сказать что как там было точно никто не знает это я всегда успею
Пойду смотреть такелаж Мери Роуз...
аргументируйте свои
1. предоставленное мной изображение - наиболее старое из имеющихся, и оно оригинальное
2. на изображении корабли схожей с требуемой конструкции и водоизмещения
2-а. к сожалению, в сообщении 227 первая картинка - более поздняя и корабль там на порядок крупнее, вторая картинка - новодел, третья картинка показана просто как пример заводки талрепов, сами тали к рассматриваемому прототипу вообще не в тему.
2-б. есть и другие изображения данной эпохи и по ближним параметрам к прототипам, каракки, нао и прочие каравеллы не были обделены вниманием, но у меня нет времени ни рыться в компе, ни составлять академический опус аргументированных обоснований, Алексей
3. малый размер длин и диаметров рангоута
4. отсутствие ватерштагов
5. отсутствие брашпилей, шпилей и малая площадь форкастля
6. картинки Мондфельда и Ландстрема, сбившие Вас с толку, это типичные примеры "мурзилок", обсуждать которые у меня не было ни времени, ни желания, а так отговорить пользоваться ими мне не составило бы особого труда, да и Вы сами видели ляпы и задавались вопросами, хотя там бреда и треша в сто крат больше.
А сказать что как там было точно никто не знает
просто НРАВИТСЯ. Трудно конечно при этом сохранять рассудок и логику..
Знакомая история. Вот почему я всегда советую людям, которые загораются построить не просто кораблик, а модель, с достаточной адекватностью приближенную к прототипу, не строить модели прототипов, на которые не сохранилось оригинальной документальной информации. Беда ещё в том, что популярные корабли, на которые клюют новички, как раз и страдают этим - корабль известный, а информации по нему - ноль. Возьмём тот же Пеликан/Золотую Лань Френсиса Дрейка - известно аж шесть "канонических" вариантов внешнего вида этого героического галеона, один чертёж вкуснее другого, но... есть только одно изображение, настоящее, с карты, скупое и примитивное, но оно посылает все эти шесть вариантов в долгое пешее эротическое!
Вот я и говорю: влюблён человек в каракки и галеоны, то брать ему в прототипы нужно более поздние образцы, что столь щедро и с крайней дотошностью к деталям показаны на многочисленных изображениях от многих именитых авторов, того же Врума, либо строить что-то реально исследованное, ту же Мэри Роуз...
Игорь, спасибо что потратили свое драгоценное время на меня (да еще и в первом часу ночи). Ваши доводы достаточно аргументированы.
Как бы мне не хотелось сделать по-симпатичнее, но в данном случае против фактов не попрешь. Значит вариант номер 1, крепим напрямую к бушприту.
картинки Мондфельда и Ландстрема, сбившие Вас с толку, это типичные примеры "мурзилок", обсуждать которые у меня не было ни времени, ни желания, а так отговорить пользоваться ими мне не составило бы особого труда
Ну так а кому верить-то? Уповать на изображения 500-летней давности особо не приходится. Там не так много чего видно (или я не знаю как и где смотреть
). Получается, что в данном случае мы можем только предполагать какой конструктив мог быть на корабле той эпохи.
Остаются только книги и советы таких как вы опытных мастеров. Я собственно и решил завести эту сказку чтобы поменьше таких косяков в финале было. Похоже все правильно сделал.
Коллеги, все-же хотел вернуться к своему посту №219 про мачты. Вопрос с топами я для себя уже решил. Как вы видели на фото, на фоке я уже сделал отдельный блок. Но вот как быть с подвесом грота-рея? Можете сказать свое веское слово?