Karopka 3.0
HMS Bounty 1787
91 .. 120 из 1818
Александр Голованов Александр Голованов

На сайте с 17.01.2015

1     1483

Коллеги, всех с Новым Годом!!!  \ 

Здоровья, у чтобы если и болеть, то только нашим общим делом - МОДЕЛИЗМОМ!  

Игорь Тараканов Игорь Тараканов

На сайте с 07.02.2020

0     4199

Саша, и тебя с Наступающим!

Алексей Сергеев Алексей Сергеев

506 МСП живет в наших сердцах вечно

Эстет

На сайте с 08.01.2011

19     1530

Бог судья терористу. Моя задача ускорить их встречу.
Нет музыки приятнее рева танкового дизиля и грохота орудия. Нет запаха приятнее пороховой гари и дизильного выхлопа...
СКА Петербург - армейцы с Невы. СКА Петербург - удачной игры!!!

Александр Голованов Александр Голованов

На сайте с 17.01.2015

1     1483


Алексей, спасибо! Прочитал от корки до корки!   

Александр Голованов Александр Голованов

На сайте с 17.01.2015

1     1483

Уважаемые коллеги, вот и наступил Новый Год, а с ним новые вопросы   
Собираю заказ у Корабела и вот хочу вашего совета по следующим пунктам:

1. Обнаружил, что существует 2 типа юферсов -  у первого типа верхние два отверстия сделаны в диаметральной плоскости и таким образом все три отверстия зажаты книзу юферса, у второго типа треугольник из трёх отверстий сориентирован по центру юферса. Какой из этих вариантов правильный для моего проекта? В Анатомии на чертежах указан 2-ой тип, но мы же понимаем, что это не панацея …..

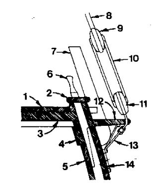
2. Вопрос по фальконетам. В Анатомии фальконет указан без ручки (рис 15), что сильно смущает - поворачивать его совсем неудобно в таком случае. Корабел предлагает взять тот, что на фото (рис 8). Что скажете, на сколько такой вариант соответствует английскому фальконету того времени? Или действительно то, что указано в Анатомии имело место быть?

Алексей Сергеев Алексей Сергеев

506 МСП живет в наших сердцах вечно

Эстет

На сайте с 08.01.2011

19     1530

Я бы взял первый вариант юфферсах на таком удобнее симитировать кнопы. Про фальконеты ничего сказать не могу. Ещё не заморачиваться с ними

Бог судья терористу. Моя задача ускорить их встречу.
Нет музыки приятнее рева танкового дизиля и грохота орудия. Нет запаха приятнее пороховой гари и дизильного выхлопа...
СКА Петербург - армейцы с Невы. СКА Петербург - удачной игры!!!

Кирилл Шабанов Кирилл Шабанов

На сайте с 28.10.2011

3     7348

03.01.2021, 18:58 ред. 03.01.2021, 19:33

Привет Александр !
С Новым Годом!
Юферсы - только второй вариант для этого периода - тот, где отверстия симметрично относительно центра расположены...
первый вариант - это для 19 го века ,если не ошибаюсь...?

https://shipsofscale.com/sosforums/threads/spanish-galleon-1607-lee-imai-1-100-completed.7827/

https://karopka.ru/forum/forum190/topic10341/?PAGEN_1=89

https://www.rijksmuseum.nl/en/rijksstudio/1845326--kirill-shabanov/collections/arts

Korbut Korbut

Эстет

Эстет

На сайте с 20.10.2014

14     862

03.01.2021, 21:30 ред. 03.01.2021, 21:31

Тоже думаю 2 вариант, только нужно еще проточить,
 сделать канавки...
Фальконеты Роман Роганов сделал так (1фото),по анатомии, но он смотрел на реплику,
когда та ещё жива была. 

Нас невозможно сбить с пути, нам пофигу куда идти....

Александр Голованов Александр Голованов

На сайте с 17.01.2015

1     1483

Да, вопросы похоже непростые у меня в начале года нарисовались.

Вот, кстати, поизучал Анатомию и увидел разногласия по юферсам. На рисунке 16 просматривается юферс 1-го типа, а на рисунке 17 - 2-го типа. Вот и выбирай, как говорится, что нравиться, ломай голову, уважаемый Моделист   

Алексей Сергеев Алексей Сергеев

506 МСП живет в наших сердцах вечно

Эстет

На сайте с 08.01.2011

19     1530

Кстати, а по диаметру какие юфферсы будете ставить?
Я на свой Баунти в М1:45 заказал 7мм.

Бог судья терористу. Моя задача ускорить их встречу.
Нет музыки приятнее рева танкового дизиля и грохота орудия. Нет запаха приятнее пороховой гари и дизильного выхлопа...
СКА Петербург - армейцы с Невы. СКА Петербург - удачной игры!!!

Korbut Korbut

Эстет

Эстет

На сайте с 20.10.2014

14     862

Юферсов там три диаметра как минимум нужно.
Я заказывал 9, 7 и по-моему 4

Нас невозможно сбить с пути, нам пофигу куда идти....

Алексей Сергеев Алексей Сергеев

506 МСП живет в наших сердцах вечно

Эстет

На сайте с 08.01.2011

19     1530

По поводу фальконетов:

Бог судья терористу. Моя задача ускорить их встречу.
Нет музыки приятнее рева танкового дизиля и грохота орудия. Нет запаха приятнее пороховой гари и дизильного выхлопа...
СКА Петербург - армейцы с Невы. СКА Петербург - удачной игры!!!

Алексей Сергеев Алексей Сергеев

506 МСП живет в наших сердцах вечно

Эстет

На сайте с 08.01.2011

19     1530

@Korbut, а 9мм куда?
7мм на ванты нижних мачт, 5мм - на ванты стеньг

Бог судья терористу. Моя задача ускорить их встречу.
Нет музыки приятнее рева танкового дизиля и грохота орудия. Нет запаха приятнее пороховой гари и дизильного выхлопа...
СКА Петербург - армейцы с Невы. СКА Петербург - удачной игры!!!

Korbut Korbut

Эстет

Эстет

На сайте с 20.10.2014

14     862

@Алексей Сергеев написал:

Korbut, а 9мм куда?
7мм на ванты нижних мачт, 5мм - на ванты стеньг


Я ставил на фок и грот 9мм на бизань 7мм
на стеньги грот и фок 7мм а на бизаь 5 или 4мм
а там ещё на руслени, совсем мелкие...
поищу счас фотку.

Нас невозможно сбить с пути, нам пофигу куда идти....

Алексей Сергеев Алексей Сергеев

506 МСП живет в наших сердцах вечно

Эстет

На сайте с 08.01.2011

19     1530

@Korbut, я видел ваш Баунти на Насекомом.
Но мне кажется 9мм ну уж очень великовато

Бог судья терористу. Моя задача ускорить их встречу.
Нет музыки приятнее рева танкового дизиля и грохота орудия. Нет запаха приятнее пороховой гари и дизильного выхлопа...
СКА Петербург - армейцы с Невы. СКА Петербург - удачной игры!!!

Korbut Korbut

Эстет

Эстет

На сайте с 20.10.2014

14     862

@Алексей Сергеев написал:

Korbut, я видел ваш Баунти на Насекомом.
Но мне кажется 9мм ну уж очень великовато


согласен, наврал, сейчас посмотрел.
7мм, 5мм и по-моему 3-4 мм

Нас невозможно сбить с пути, нам пофигу куда идти....

Игорь Тараканов Игорь Тараканов

На сайте с 07.02.2020

0     4199

@Александр Голованов написал:

На рисунке 16 просматривается юферс 1-го типа, а на рисунке 17 - 2-го типа.


В данном случае, это всё-таки один тип.

@Алексей Сергеев написал:

Но мне кажется 9мм ну уж очень великовато

@Korbut написал:

сейчас посмотрел.7мм, 5мм и по-моему 3-4 мм

Что касается размеров юферсов, то было такое правило:
Диаметр юферса равен половине диаметра своей мачты;
... или своей стеньги, если речь о стень-вантах;

Юферсы для фордунов соответствуют этому же правилу, но по отношению к тому дереву, которое держат (например, половине диаметра стеньги).

Игорь Тараканов Игорь Тараканов

На сайте с 07.02.2020

0     4199

Кстати, вижу на фотографии модели нижний ворст на вантах - его делать не надо.

Александр Голованов Александр Голованов

На сайте с 17.01.2015

1     1483

@Игорь Тараканов написал:
Александр Голованов написал:

На рисунке 16 просматривается юферс 1-го типа, а на рисунке 17 - 2-го типа.


В данном случае, это всё-таки один тип.

Игорь, привет! 

Ты имеешь ввиду вот этот?

Korbut Korbut

Эстет

Эстет

На сайте с 20.10.2014

14     862

06.01.2021, 13:46 ред. 06.01.2021, 13:55
@Игорь Тараканов написал:

Кстати, вижу на фотографии модели нижний ворст на вантах - его делать не надо.


Привет Игорь, я понимаю есть какое-то объяснение, 
 я ворстом выравнивал юферсы, а в реальности он для чего?

Нас невозможно сбить с пути, нам пофигу куда идти....

Александр Голованов Александр Голованов

На сайте с 17.01.2015

1     1483

@Korbut написал:
Игорь Тараканов написал:

Кстати, вижу на фотографии модели нижний ворст на вантах - его делать не надо.


Привет Игорь, я понимаю есть какое-то объяснение,
я ворстом выравнивал юферсы, а в реальности он не для этого?

Я читал, что он нужен для предотвращения перекручивания вант. В Анатомии от, кстати, указан. Почему же он в данном случае не нужен?

Александр Голованов Александр Голованов

На сайте с 17.01.2015

1     1483

@Алексей Сергеев написал:

Кстати, а по диаметру какие юфферсы будете ставить?
Я на свой Баунти в М1:45 заказал 7мм.


Алексей, привет!
В Анатомии указаны три размера юферсов: 12, 7 и 5 дюймов.
В моём случае при пересчёте в миллиметры с учётом масштаба 1:48 будет соответственно: 6,4мм; 3,7мм и 2,6 мм. (с учётом округления).
Но найти такие размеры готовых юферсов (сам я вряд ли смогу изготовить) невозможно.
Поэтому я принял решение заказать такие размеры: 7мм, 5мм и 3,5мм. в том числе с учётом разницы в размере между ними пытаясь сохранить пропорции в этом смысле.
Что касается правил, которые указал Игорь, может и есть такое (спорить не буду), но если в моём случае диаметр грот-мачты 9мм, то юферс не должен превышать 4,5мм. Какого же диаметра будет юферс стеньги бизань-мачты, если её диаметр у основания 6,5 дюймов? 
Получатся 1,7мм.  С такими размерами работать невозможно.

Александр Голованов Александр Голованов

На сайте с 17.01.2015

1     1483

Кстати, где-то читал рекомендацию о том, что такелаж надо делать крупнее на 15-20% от расчётного размера, чтобы лучше смотрелся.

Что скажите?

Korbut Korbut

Эстет

Эстет

На сайте с 20.10.2014

14     862

@Александр Голованов написал:

Кстати, где-то читал рекомендацию о том, что такелаж надо делать крупнее на 15-20% от расчётного размера, чтобы лучше смотрелся.

Что скажите?


 тоже всё округляться будет, тросы, канаты разной толщины,
и всё будет зависеть от тросомота и толщины исходных ниток, потому-что любая толщина каната кратна трём.
Но есть тросомоты и четырехпрядные (я купил себе, он и 3-х и 4-х прядный), вот там можно делать еще кратно 4-м прядям...

Нас невозможно сбить с пути, нам пофигу куда идти....

Александр Голованов Александр Голованов

На сайте с 17.01.2015

1     1483

@Korbut написал:
Александр Голованов написал:

Кстати, где-то читал рекомендацию о том, что такелаж надо делать крупнее на 15-20% от расчётного размера, чтобы лучше смотрелся.

Что скажите?


тоже всё округляться будет, тросы, канаты разной толщины,
и всё будет зависеть от тросомота и толщины исходных ниток, потому-что любая толщина каната кратна трём.
Но есть тросомоты и четырехпрядные (я купил себе, он и 3-х и 4-х прядный), вот там можно делать еще кратно 4-м прядям..

Korbut, как Вас зовут? Как-то по именам хочется общаться (если Вы не против).

Что канаты будут округляться это понятно. Высчитывать сотые миллиметров смысла нет, иногда десятки можно даже подогнать.
Здесь рекомендация была именно целенаправленно увеличивать размер, делать его крупнее якобы для лучшего восприятия глазом.

Korbut Korbut

Эстет

Эстет

На сайте с 20.10.2014

14     862

Андрей. Я думаю по месту смотреть нужно, т.к цвет имеет размер, и светлый такелаж смотрится толще тёмного. А дальше мотод проб-ошибок, тут заранее не просчитаешь, тем более на первой модели парусника.

Нас невозможно сбить с пути, нам пофигу куда идти....

Александр Голованов Александр Голованов

На сайте с 17.01.2015

1     1483

@Алексей Сергеев написал:

Александр Голованов, мое почтение. Тоже стою Баунти, но из патворка. Очень интересуют страницы проводки бегущего такелажа


Алексей, могу в личку скинуть.

Александр Голованов Александр Голованов

На сайте с 17.01.2015

1     1483

@Кирилл Шабанов написал:

Привет Александр !
С Новым Годом!
Юферсы - только второй вариант для этого периода - тот, где отверстия симметрично относительно центра расположены...
первый вариант - это для 19 го века ,если не ошибаюсь...?


Кирилл, думаю Вы правы. Смотрел тут на "Верфь на столе" и у них первый вариант указан как юферс 19-го века.

PS   Вы не против если на ТЫ перейдём?

Александр Голованов Александр Голованов

На сайте с 17.01.2015

1     1483

06.01.2021, 16:14 ред. 06.01.2021, 17:38
@Вячеслав Строев написал:

Здравствуйте Александр. Элементы палубы, такие как ватервейсы, шпилевые и мачтовые пяртнерсы, усиленные доски вдоль края люка делались из более толстых и твердых досок поэтому они выделяются цветом


Игорь, прошу твоего комментария по данному вопросу.
Сам настил я буду делать из липы. Выделять буду пяртнерсы мачт и ватервейс - будут из груши более тёмным цветом.
В английской школе что ещё необходимо выделить цветом, например пяртнерс шпиля, усиленный пояс вдоль края люка, адмиральская доска? (если необходимо).

Игорь Тараканов Игорь Тараканов

На сайте с 07.02.2020

0     4199

@Александр Голованов написал:

В английской школе что ещё необходимо выделить цветом, например пяртнерс шпиля, усиленный пояс вдоль края люка, адмиральская доска? (если необходимо).


Забудьте про "школы", помните только логику и здравый смысл. Если палубный настил строился из неокрашенных и неосмоленных досок сосны или тика, то ватервейсы, пяртнерсы, комингсы и другие силовые элементы корпуса, а так же дельные вещи, испытывающие нагрузки (как-то кнехты, битенги) изготовлялись из дуба, тщательно покрывались железным суриком и смолились.

@Александр Голованов написал:

Кстати, где-то читал рекомендацию о том, что такелаж надо делать крупнее на 15-20% от расчётного размера, чтобы лучше смотрелся.


Ну, это так себе. Маловат размах! А вот, если покрыть модель бриллиантами и золотыми слитками, то она будет смотреться вообще потрясающе, просто сногсшибательно.

Саша, модель "смотрится" тогда, когда она копирует оригинал с максимально возможной достоверностью.

Термин "смотрится" вообще не имеет никакого отношения к моделизму. Вкусовщина здесь неуместна.

@Александр Голованов написал:

Я читал, что он нужен для предотвращения перекручивания вант.


А они перекручивались на Баунти?

@Александр Голованов написал:

В Анатомии от, кстати, указан. Почему же он в данном случае не нужен?


В Анатомии у утлегаря показаны двойные перты. Прикажете делать так же? Я, возможно, недостаточно хорошо осветил этот момент, поэтому позволю повториться: друзья, будьте осторожны с Анатомией - там много ошибок.

Нижний ворст на английских кораблях шестого ранга и выше не ставился из-за отсутствия необходимости.

91 .. 120 из 1818
Войдите, чтобы ответить в тему.