МиГ-3
- Производитель:
- Hobby Boss
- Масштаб модели:
- 1:72
- Тип обзора:
- Модели
- Тип модели:
- Авиация
МиГ-3 — советский высотный истребитель времён Второй мировой войны.
Модель быстрой сборки от китайского Hobby Boss. Несмотря на некоторую упрощённость, на данный момент, IMHO, наиболее похожа на прототип среди моделей в 1/72. Из наиболее бросающихся в глаза упрощений - практически пустая кабина, фара, как и БАНО, только обозначены расшивкой, щитки шасси даны одной деталью, упрощённые колёса, клёпки вообще нет.
Даны 2 варианта окраски.
Сразу взял и Эльфовские колёса для него, ну вот тут - сюрприз... Первый раз с таким сталкиваюсь, откровенный брак. Хвостовое колесо сразу в мусорку, основные - попытаюсь зашпатлевать щель по середине, но как это получится с резиной...
Обошлось в Минске примерно в 10$ модель + 4.8$ колёса
Оценки
Войдите, чтобы оценить работу.
Комментарии (25)
На сайте с 24.07.2012
19 2498
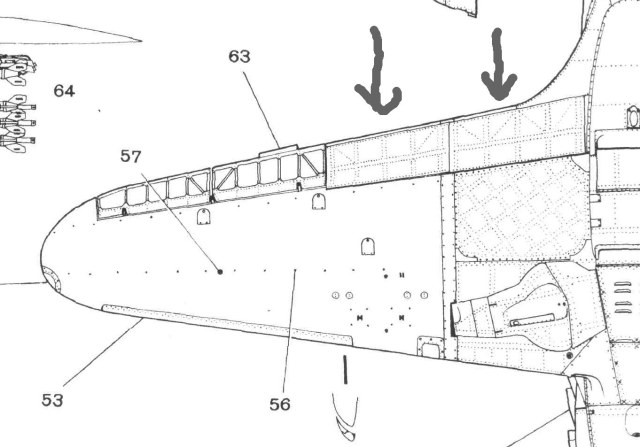
Чт реально сильно напрягает - отсутствие посадочных щитков. Форма там такая, что не так просто изобразить.
На сайте с 20.07.2010
117 639
По чертежам вырезать из Доширако-пластика, и никаких проблем. Это же 72.
На сайте с 20.07.2010
117 639
А в целом мне набор понравился. У "Хоббика" Пе-2 из той же серии - бессовестно упрощённый, а вот этот МиГ-3 - вполне себе хорош, похож.
На сайте с 24.07.2012
19 2498
Будет немасштабно. Надо расшивкой изображать. Но уголки у щитков хитромудреные. Может фольгой?
Спонсор
На сайте с 05.07.2011
249 37
Не совсем понял, это про эти (стрелками обозначил)?
Так в принципе тогда расшивкой, особо ничего сложного... А клёпку всё равно накатывать
На сайте с 09.10.2009
402 1762
У этой модели больше всего придётся повозиться с нишами шасси ( мелкие), кабиной - бронеборта танковой толщины. После этого все мелочи с силовым набором элеронов и отсутствием щитков покажутся цветочками. По мне так проще довести АЛЬФУ.
На сайте с 12.11.2012
6 154
Знакомый наборчик!


Кроме щитков и даже кабины там еще вагон, например, расшивка носовой части и выхлопные патрубки, так что большой простор для творчества!
Не думаю, что "Альфу" проще довести, разве только в части кабины. Дело ведь еще и в том, что "Хоббик" имеет свое классическе преимущество: отличная собираемость! Ну кроме цельного фонаря, конечно
а разве есть еще какой-то ХБ, не легкой сборки ? в чем отличие пластика ?
таких колес, конечно, не видел резиновых
"примерно в 10$ модель + 4.8$ колёса"
вот она классика моделизма: афтер = 1/2 цены",
во Львов Фест 2015 один умудрился взять в обратном соотношении: 500 грн. за травленку и 200 грн.за модель (Вампир в 48-м) )
На сайте с 24.07.2012
19 2498
Нет, ниже на центроплане. Там еще клепка "диагональной" решеткой.
Вот на это как раз можно забить! И многие забивают.
На сайте с 09.10.2011
62 2713
"Нет, на это мы пойтить не могем!"(С)
Спонсор
На сайте с 05.07.2011
249 37
Вот смотрел на это, но решил, что очень как-то большое... А нет случайно фото с выпушенными?
Неужели ? а здесь вам фонарик как ? )
На сайте с 24.07.2012
19 2498
Это первая Альфа, а небось даже ее нелицензированная одесская копия. Владимир писал о второй Альфе, середины 90-х, которая позже паковалась Макетом.
Так это может и не щитки, а просто съемные панели? Но факт тот, что у ХоббиБосса на этом месте тишь да гладь!
Спонсор
На сайте с 05.07.2011
249 37
А, ну это да, нарезать расшику и накатывать клёпку (или может попробую декалями, ещё не испытывал
) конечно надо
На сайте с 08.06.2012
16 763
Расшивка у этой модели (правильная или не правильная) - просто мелочь. Самая основная работа - это кабина. Следующее по сложности (в порядке уменьшения) изготовление новых воздухозаборников маслорадиаторов, расположенных по бокам капотов. Родные детали просто ни к чёрту. Свои делал из толстого литника. Дальше проще. Изготовить новые выхлопные патрубки (потолще), изготовить аэродинамические плоскости (треугольники стоящие по бокам совков маслорадиаторов и полоски закрывающие выхлопные патрубки) из упаковочного пластика. Нижний капот, придётся много шпаклевать (по бокам). В момент подгонки капота, не забудьте про сопряжение его с коком винта, придётся много (относительно) точить, что бы кок и моторный отсек хорошо совмещались. Капот водорадиатора, придётся хорошенько обработать напильником (сперва из нутри, добившись тонких швов а потом снаружи). Ну а дальше по всем знакомой схеме: шпаклюем дырки, неправильную расшивку и утяжины, стачиваем щитки шасси и листы термо защиты, АНО, фара и так далее и тому подобное.
В наборе есть детали от которых можно или даже нужно избавится:
РСы - неисправимы
цельный фонарь - фонарь из трёх частей заметно лучше
деколи - тупо "кривые" звёзды, переразмерная надпись " За партию..."
Хорошая стыкуемось - это не про этот набор. Точить - придётся!
P.S. Очень в тему новые колёса. Всё выше написанное есть моё личное мнение и не более того!
Спонсор
На сайте с 05.07.2011
249 37
Спасибо, буду иметь в виду!
та бери уже "Факел" иль "Альфу" - все одно запилить придется )
На сайте с 08.06.2012
16 763
Если что, помогу добрым советом.
На сайте с 08.06.2012
16 763
Игорь, у тебя постоянно прослеживается желание пилить всякую дрянь. )))))
есть такое ) но хотя бы чтоб название модели совпадало ) т.е. на коробке было написано "Миг-3", а не "Миг-8" и не Як-7
На сайте с 08.06.2012
16 763
))))))))
На сайте с 01.08.2010
25 1943
А чем плоха Альфа ? Не хуже ХБ . Что там - пилить , что здесь - пилить .
На сайте с 24.07.2012
19 2498
Это не наш метод! С Альфой все скушно - тянутый литник, проволока, доработал интерьер, вогнал в какие-нибудь чертежи, перерезал, отрезал, разрезал… Уснуть можна! А где вызов, где экстрим??? Не, надо купить китайскую детскую игрушку и попытаться почувствовать себя "бутылочным судомоделистом". И показывать потом фото - "видишь, как интерьер доработан? Не видишь??? Ну на, посмотри на этом фото!".
Экстрим уже для Эльфовских колес с продольной бороздой ))
На сайте с 08.06.2012
16 763
На счёт колёс и борозды, согласен.