Karopka 3.0
HMS Terror 1/75
301 .. 330 из 393
Игорь Тараканов Игорь Тараканов

На сайте с 07.02.2020

0     4199

Получается Беттс пропустил этот момент с туалетами?

Да!

Игорь Тараканов Игорь Тараканов

На сайте с 07.02.2020

0     4199

О, смотри, что нашёл. 
Кто-то начертил, размышляя как я, насчёт положения колодцев. Ну, и туалеты тоже, правда, тут ещё флаглокеры приделаны.

  

Флаглокер (отделение с ящиками для сигнальных флагов):

Дмитрий Ревякин Дмитрий Ревякин

На сайте с 24.01.2022

8     2084

М-да... они, то есть туалеты сильно меняют облик палубы в корме. И прям сильное упущение у Оккре. 

А крышки эти, они поверх обшивок клались,? То есть обшивка, потом крышки сверху.

Дмитрий Ревякин Дмитрий Ревякин

На сайте с 24.01.2022

8     2084

Хорошие размышления обличённые в удобочитаемую форму. Но нужен монитор! Я на телефоне не могу уже нормально рассматривать)))

Но очень интересно!))) Особенно с туалетами!)))

Игорь Тараканов Игорь Тараканов

На сайте с 07.02.2020

0     4199

И прям сильное упущение у Оккре.

... и на модели Эребуса тоже пропустили, и (читаю блоги у буржуинов) народ пытается сделать туалеты самостоятельно, кто во что горазд.

А крышки эти, они поверх обшивок клались,? То есть обшивка, потом крышки сверху.

Крышки колодцев? Однозначно "да".
Но бесполезно искать эти крышки на чертежах Террора и Эребуса. 
Дело в том, что ранее, до 1845,  оголовок руля закрывала специальная тумба (cover for rudder head).
Эта высокая красиво оформленная конструкция, выполнявшая заодно роль стола,
с боковыми стенками и отверстием для румпеля. Это было стандартом для шлюпов.
На чертеже 1839 эта тумба есть, у неё под крышкой заметен декоративный узор в виде греческого орнамента.

Типичная тумба, закрывающая колодец руля и оголовок рудерписа:

    

Дмитрий Ревякин Дмитрий Ревякин

На сайте с 24.01.2022

8     2084

Ага, я сегодня эту тумбу рассматривал и не мог понять откуда она и зачем. Потом понял что чертёж 1839 г. И она там была до перестройки.

А туалеты... ну понятно что кто во что гаразд. Тоже будем что то придумывать))

Игорь Тараканов Игорь Тараканов

На сайте с 07.02.2020

0     4199

Ну, тогда давай рассмотрим ещё одну интересную вкусняшку, которую упустили Беттс и оккрешники.
Это штурманский мостик. Правда, в те годы, до появления капитанского мостика, данный элемент 
назывался просто "мостик" (bridge), однако, его роль заключалась именно для помощи при 
маневрировании рядом с препятствиями. Штурманский мостик, понятно, всегда располагался рядом 
с рулевым постом, и имел габариты, позволяющие свободно обозревать борта по всей длине.
Штурманские мостики появились в эпоху гребных винтов, берут своё начало от ранних площадок на
кожухах гребных колёс. Данный мостик был помощником при движении под парами, когда реальное 
маневрирование стало возможным (при движении под парусами большие корабли, не заметившие
препятствие издалека, были обречены, а вот с гребным винтом или колёсами ещё можно было
повырисовывать кренделей... да хотя бы дать задний ход).

Но для полярных кораблей штурманские мостики появились ещё раньше, для наблюдения за 
льдинами около бортов. На чертежах Террора и Эребуса штурманский мостик однозначно виден уже в
1837 г, 1839 г и он точно был в 1845 году, судя по последним зарисовкам лейтенанта Оуэна Стенли,
относящихся к экспедиции Росса 1839 года и к маю-июню 1845 г, экспедиции Франклина.
Судите сами.








Конечно, этот мостик лучше установить на модель на финальных этапах, иначе будут проблемы с проводкой такелажа. 

Игорь Тараканов Игорь Тараканов

На сайте с 07.02.2020

0     4199

Видимо Оккре видела это фото с румпелем. Предлагают сделать его из прутка. Упрощенно, без изысков. Но прямой и латунный. Судя по фото со дна морского он не круглый полностью. В месте установки в перо он квадратного сечения и остаётся таким ещё на 1/3 длины.

Я тут по сусекам пошуршал...

Короче, официально этот румпель называется "железный румпель Сеппингса образца 1814 года". Здесь показаны диаметры тела румпеля
и форма штыря для гнезда в оголовке рудерписа.

Так как на "Терроре" и на "Эребусе" практически весь корпус доработан по проектам сюрвейера флота Роберта Сеппингса, есть вероятность,
что железный румпель Сеппингса присутствовал на кораблях с самого начала их деятельности в сфере полярных исследований.

Дмитрий Ревякин Дмитрий Ревякин

На сайте с 24.01.2022

8     2084

Освоил информацию! )))

Я проверил пузатость отбойника. Ну... Её не хватает на уровне погрешности. От трафарета там 0,2-0,3 мм. Я пока страдал неведением уже думал набить еще реек и закруглить, вывести по другому и вообще уже техпроцесс разработал, но сейчас перемерил и пришел к выводу что там ну реально ооочень мало надо добавить. Принципиально профиль не изменит, а геморроя прибавит знатно. К тому же половина прямых участков (а может и больше) в итоге изрежется утопленными в отбойник вант-путенсами и отсутствие пузатости совсем станет не заметно.

Дек-транец я вот как сделаю. Он должен выделяться цветом от палубы (правлю его там почти не видно будет из-за туалетов и крышек шахт винто-рулевой группы). То есть нужен другой цвет дерева. У меня только орех (темный) и липа (светлый). Если я правильно понял, он в отличие от фальшборта не красится, а как палуба остаётся "деревянным". Я думаю взять морилку и с её помощью поменять цвет липы на более темный. 

 

Игорь Тараканов Игорь Тараканов

На сайте с 07.02.2020

0     4199

09.03.2026, 17:18 ред. 09.03.2026, 17:23

Дек-транец можно сделать одного цвета с ватервейсом и нарубными поясьями. Ватервейс и трацы делались из дуба, а то, что нарубные поясья тоже именно дубовые, указано на чертеже сечения по миделю. Палубе было уже более десяти лет, доски вполне могли потерять смолистые вещества в древесине от солнца и просаливания при постоянном драинии морской водой, и цвет всей палубы мог сровняться, высветлиться.

     

Дмитрий Ревякин Дмитрий Ревякин

На сайте с 24.01.2022

8     2084

Отлично! У меня как раз нет морилки))) Сделаю просто из светлой липы!

Дмитрий Ревякин Дмитрий Ревякин

На сайте с 24.01.2022

8     2084

10.03.2026, 11:14 ред. 10.03.2026, 11:18

Установил рейки имитирующие дек-транец. Подгонкой особо не занимался так как углы спрячутся в клозетах, а середина под крышками шахт. 

Составил план дальнейшей работы.
1. Сделать обшивку фальшборта изнутри.
2. Установить на бимсы решетки, окна и прочие элементы, комингсы которых ставятся на бимсы и задают размер палубных досок.
3. Обшить палубу чистовой доской.
4. Перебраться за борт и начать обшивку корпуса.

Игорь Тараканов Игорь Тараканов

На сайте с 07.02.2020

0     4199

1. Сделать обшивку фальшборта изнутри.

Дима, в обшивке будут вырезы под шкив-гаты. Это дубовые блоки со сквозными вырезами и вставленными в них шкивами (на общей оси). Через шкив-гаты проводят бегучий такелаж к местам его укладки. Обычно "сквозь борт" проводят шкоты, галсы, брасы.

Высота и длинна "бруска" видны на чертежах, а вот толщина - это толщина фальшборта в этом месте за минусом внутренней обшивки. То есть, снаружи корпуса  шкив-гат выглядит как блок, врезанный во внешнюю обшивку, а изнутри борта он выглядит как прорезь со шкивом во внутренней обшивке. Иначе говоря, блок шкив-гата зашит внутренней обшивкой, видны только прорези для снастей (как на фото). Шкив-гат снаружи красится так же, как и весь корпус, а изнутри, понятно, как вся внутренняя обшивка.

  

Игорь Тараканов Игорь Тараканов

На сайте с 07.02.2020

0     4199

Установить на бимсы решетки, окна и прочие элементы, комингсы которых ставятся на бимсы и задают размер палубных досок.

Только на мурзилку не поведись: ставлю сто к одному, что по старой-доброй традиции Артезании, оккрешники подогнали размер люков под размер палубных реек. Как ни дико звучит, но КИТ-производители иногда такое вытворяют, что мама дорогая.

Теперь о решётках. Ты что-н прикупил из адекватного? Насколько мы все понимаем, жуткую яйцерезку, которую многие фирмы кладут в наборы под соусом "это рустерная решетка!", использовать нельзя ни в коем случае. Рустерная крышка /решетка настоящего корабля делалась из продольных планок, лежащих на такой же толщины поперечных силовых планках. Силовые планки имели погибь (чтобы в шторм с укутанной парусиной крышки быстро стекала вода). Пустоты, образуемые перекрестиями планок, "ячейки", должны быть такой же ширины, что и планки, а шаг их таков, чтобы и воздух вниз поступал, и при ходьбе по решетке не провалиться каблуку сапога. 

Решётка курильщика:

Решетка здорового человека:

        

Дмитрий Ревякин Дмитрий Ревякин

На сайте с 24.01.2022

8     2084

То есть они заподлицо  с внешней, и просто зашиты внутренней. Но на втором фото видно что это блок... 

А в таком масштабе шкивы как то делаются? Или просто делаются отверстия и обозначаются фрезеровкой неглубокой?

Дмитрий Ревякин Дмитрий Ревякин

На сайте с 24.01.2022

8     2084

Теперь о решётках.

Блин....

Дмитрий Ревякин Дмитрий Ревякин

На сайте с 24.01.2022

8     2084

У меня видимо решётки курильщика)))

Игорь Тараканов Игорь Тараканов

На сайте с 07.02.2020

0     4199

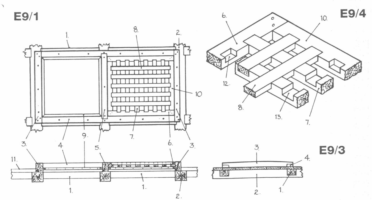
Ещё про решётки. Так как ты новичок, можешь легко ошибиться. Существуют две главные/частые ошибки новичков.
1. Направление планок решетки. 
У нас ведь одни планки наложены на другие, в их пазы. То есть, обычно видно, какие планки на модельной решетке "верхние", какие "нижние". 
Просто никогда нельзя забывать: именно нижние планки выполняют роль бимсов, то есть, они изогнуты горбом, имеют погибь для стекания воды. 
Значит, по аналогии с бимсами, нижние планки ставятся поперек ДП корабля. А верхние планки, они прямые, потому что седловатость не имеет
значения, и они словно палубные доски. Значит, верхние планки располагаются вдоль ДП корабля.

Вторая распространённая ошибка, это отсутствие "рамки" решетки.
Она (для этого периода этой кораблестроительной школы), эта рамка, нужна, чтобы опираться на паз в комингсе.
Когда надо, решетку снимают: грузят что-нибудь, бочки, мешки, или взамен решетки ставят дощатые крышки.
Моделисты часто собирают свои решетки большим блоком и потом совершенно неверно начинают из этого блока вырезать 
нужный сегмент, и решетка получает "зубы". 

Пример:
у этой модели оккрешного Террора решетка опирается на комингсы "зубами":

 

а у этой модели (Эребус, но набор абсолютно такой же) у моделиста решетка имеет границы. Жаль, что использовал 
"яйцерезку":

Английские решетки имеют контур без всяких там торчащих зубов:

 

Дмитрий Ревякин Дмитрий Ревякин

На сайте с 24.01.2022

8     2084

Так... Ладно. Понял про решетки. Из набора не пригодятся. Пойдут в список покупок. Значит пока займусь шкив-гатами и обшивкой фальшбортов. 

Игорь Тараканов Игорь Тараканов

На сайте с 07.02.2020

0     4199

То есть они заподлицо  с внешней, и просто зашиты внутренней. Но на втором фото видно что это блок...

Это гат так раскрашен на корабле (то есть, не весь блок, а только щель, краска здесь быстро истирается).

Кстати, не всегда с внешней стороны шкив-гат заподлицо с обшивкой, но я читаю чертёж 1839 именно как "заподлицо с внешней обшивкой",
и, к сожалению, ни подтверждений, ни опровержений не могу найти, а на музейных моделях по-разному. Но вот с внутренней стороны борта обшивка шкив-гат закрывает одозначно.
Шкив-гат обычно крепится в шпангоутах и поэтому может быть закрыт обшивкой с обоих сторон.

  

Игорь Тараканов Игорь Тараканов

На сайте с 07.02.2020

0     4199

Блин....

Спокойствие! Только спокойствие!
Я же никогда не говорю ничего просто так. И уже на кое-что намекнул.

Давай посмотрим ещё раз на палубу. У нас же экспедиционный шлюп, рассчитанный на суровые холодные зимовки во льдах, не так ли.
Паровое/водяное отопление, двойные окна, дублирующее отопление с котла паровоза... Массивные тамбуры над сходными люками, надёжно
защищающие внутренние помещения корабля от холода.
Чувствуешь, куда клоню?

Да-да, "и тут вдруг нехилые такие рустерные крышки грота-люка и камбуза - "гуляй ветер, привет, мороз!"

Дмитрий Ревякин Дмитрий Ревякин

На сайте с 24.01.2022

8     2084

рассчитанный на суровые холодные зимовки во льдах

Я так понимаю ты предлагаешь заменить решетки на сплошные люки.))

Игорь Тараканов Игорь Тараканов

На сайте с 07.02.2020

0     4199

Давай приглядимся.

Самая большая рустерная крышка люка на модели - это решётка грота-люка.
Грота-люк (main hatch) - это традиционно главный грузовой люк, проходящий через все палубы в трюм.
Люк и его комингсы прекрасно сохранился на несчастном "Эребусе". Мощный брус, видный в проёме люка - 
запасный руль, точнее, его оголовок рудерписа. Он выпал из своего отделения за грот-мачтой (обсуждали чуть ранее).


Но не ради руля показываю расшифровку фоток обломков. Смотрим комингсы грота-люка.
Так мы на всякий случай убедились, что и без того понятная вещь - паз-четверть в комингсе для установки крышки люка -
на корабле реально существовала. 

А теперь смотрим чертeжи.

Вот опердек по состоянию на 1839 год. Cлева от грот-мачты - задний грота-люк, в котором одним общим комингсом объединены два люка: 
в кормовом находился сходный трап на нижнюю палубу (обозначен как ladder way),  а носовое отделение предназначалось для хранения
запасного руля (scuttle over the spare rudder).
Сходный трап имеет тамбур, поэтому на чертеже на комингсе показаны двойные пунктирные линии пазов, - теперь это не паз-четверть,
а прямоугольная канавка, куда ставится тамбур, так же показана схема распахивания дверей тамбура.

Грота-люк перед грот-мачтой, известный так же как "главный люк", "носовой грота-люк", показан с расположенными по бокам палубными
клюзами для якорных канатов и подушками (обсудим позже), так же показан комингс и ... некоторая балка посередине проёма люка,
располагающаяся вдоль ДП. 
Этот люк грузовой, так что балка, понятно, съёмная. Косвенно это подтверждают обломки "Эребуса" - она снята. Обращаем внимание на пазы,
 показанные на балке пунктиром. 

А теперь посмотрим на чертёж верхней палубы по состоянию на 1837 год. 

Здесь все рассмотренные люки на месте, разве что у тамбура сходного трапа два варианта дверей, не показаны крышки люка 
запасного руля, а у главного люка нет по бокам палубных клюзов - они немного позади люка и другой конструкции (с колпаками).

Далее, мы вновь видим центральную балку в проёме люка и две открытые вверх-к-центру сплошные дощатые крышки, показанные
условно. Вот теперь всё сходится с более поздним чертежом: через два года рисовать на чертеже крышки на главном люке уже не стали,
но балку и паз-четверть на ней показали.

Данная балка у нас называется "съёмный стрингер". Она предназначалась как раз как опора для крышек люка, когда люк слишком большой.

Вариант:

Итак, для модели, показывающий прототип на период самой трагической части экспедиции, рустерную (решетчатую) крышку ставить не 
только не обязательно, но даже и как-то странно и нелогично.

Игорь Тараканов Игорь Тараканов

На сайте с 07.02.2020

0     4199

заменить решетки на сплошные люки.))

Дима, чтобы не путаться при обсуждении, давай договоримся: люк - это яма такая. Крышка люка, это таки крышка ямы, а не сам люк. 
Рустерная крышка - решётка. Дощатая крышка - рама со сплошным настилом из досок.

Игорь Тараканов Игорь Тараканов

На сайте с 07.02.2020

0     4199

Теперь посмотрим на другую часть чертежа опердека обр. 1837 г.

Думаю, тут всё понятно, и названия тоже легко читаются. Опять же, чертёж "борт" 1837 г прекрасно поясняет, что там на каждый люк надето.
Вот все эти тамбуры и световые люки ещё пока не скоро, обсудим их позже, там тоже есть что доработать и довести до ума.
Я просто хотел сказать, что на чертеже есть условность, которая может сбить с толку человека, незнающего некоторые правила 
изображения английских чертежей 18-19вв.

Вот эти "оконные рамы", "разбросанные" по краям комингсов люков, нарисованные красной тушью и подписанные буквой В, это как раз 
и есть пример альтернативных крышек люков. Вот посмотрим на светлый люк (не световой, а светлый - по нашей терминологии тех лет) 
кают-кампании (он прямо перед штурвалом). Черным цветом выделен вариант цельной крышки люка с шестью окошками, а красным цветом -
- вариант двухстворчатый, с восемью окошками в сумме.

Дмитрий Ревякин Дмитрий Ревякин

На сайте с 24.01.2022

8     2084

Приношу свои извинения за мою подзаборную терминологию!

То есть заменить рустерные решетки на дощатые крышки. Ну да, в полярной экспедиции не логично вентилировать внутренние пространства.

Игорь Тараканов Игорь Тараканов

На сайте с 07.02.2020

0     4199

Светлые люки из прошлого сообщения на чертеже 1837 г имеют два варианта крышек, среди которых нет рустерных - 
крышки в обоих вариантах только в виде оконных рам со стеклом, откидывающиеся, если нужна вентиляция.

На чертеже 1839 г эти люки имеют комингсы с двойной пунктирной линией и надписью
"skylight", 

что намекает на наличие некоей 
конструкции, типа такой:

У нас такие светлые и объёмные крышки со стёклами называли "фонари".
Конструкция фонаря частично показана также на чертеже "борт"-1839 красными чернилами.

Вывод: ни в одном из рассматриваемых случаев рустерные крышки люков на модели можно не делать.

Дмитрий Ревякин Дмитрий Ревякин

На сайте с 24.01.2022

8     2084

Вот они, эти чудовищные фонари гражданской наружного. Поменьше это между штурвал и мечтой, побольше за следующая после стола в нос. 

Игорь Тараканов Игорь Тараканов

На сайте с 07.02.2020

0     4199

Остались два лючка в носовой части корабля на чертеже 1837 и три люка на чертеже 1839.

1837.
Оба лючка относятся к камбузу. 
ближний к носу, подписанный "funnel", это люк для прохода дымовой трубы камбузной печи.
Следующий, за ним, это люк доступа к заливной горловине канистры с питьевой водой, нужной для приготовления пищи.
Сразу скажу, что такие канистры на камбузах нетипичны, они весьма мешают и неудобны. Но такие канистры решили проблему
отказа питьевых помп, то есть, ручных небольших помп, которые качают воду из канистр в трюме наверх, на камбуз. 
Полярные экспедиции страдали от неожиданной напасти: вода в бочках в трюме замерзала, и люди оставались без питьевой воды.
Вот почему на чертежах "Террора" и "Эребуса" мы видим, что в трюме вместо деревянных бочек с водой установлены железные танки.
Мало того, что они легче и надёжнее, так они при замерзании воды переносили расширение льда, тогда как деревянные бочки ломались,
ценный ресурс терялся.

  

Так вот, люк для доступа к заливной горловине камбузного танка тоже мог быть любой, НО!
Но на всех чертежах нижней палубы обоих кораблей и на сечениях по ДП хорошо видно, что камбузы у данных шлюпов были 
отдельными помещениями с переборками и дверями. Значит, нужен свет, и, понятно, вентиляция для выхода жара. 

Первый лючок занят камбузной дымовой трубой, и там рустеров нет (о конструкции поговорим позже).
Второй, который для залива воды в танк, мог быть и герметичным в простое, и рустерным при работе камбуза.

Наконец, чертёж 1839.
Здесь оба маленьких лючка камбуза объединились одним контуром комингсов. Вот только, насколько я 
понимаю, на лючке для доступа к горловине водяного танка камбуза написано "grat.", то есть, здесь рустерная 
крышка по определению.

Левее на чертеже появляется  - фор-люк, подписанный "fore hatch & ladder way". Это носовой грузовой люк с трапом,
который убирают во время погрузочных работ. Практически всё путешествие этот люк открыт, потому что им пользуется 
большая часть команды (трап на корме только для офицеров).

На чертеже "борт", 1839, мы видим трап и металлические стойки с металлическим леером по периметру комингса.
(Смотрим красные чернила)


Перила трапа условно не показаны, потому что сливались бы.
Традиционно трапы вели слева-вниз-направо, так что разрыв в леере можно сделать со стороны левого борта.
На самом же деле никакого значения это не имеет, потому что и трап, и стойки леерного ограждения, и сами леера,
и перила трапа разбирались и уносились в трюм при погрузочных работах.

Но для модели, изображающей прототип "в пути", придётся показывать фор-люк, трап и ограждение трапа.
Но тогда не надо будет делать рустерную крышку.

Итак, резюмируем: кроме маленького лючка над горловиной канистры (танка) камбуза, на всех других люках крышки 
спокойно могут быть не рустерными.

Игорь Тараканов Игорь Тараканов

На сайте с 07.02.2020

0     4199

Вот они, эти чудовищные фонари

Ага. Беттс тоже недалеко ушёл, предлагая у фонарей светлых люков верхнюю крышку без стекла. 
Вот тебе, бабушка, и "скайлайт"! 

   

Я бы сделал как на "Виктори", с окошками, кают-компания всё-таки.

Форма фонарей как раз как у Виктори.

К сожалению, мы уже никогда не узнаем, как там было, но вот по чертежу 1837 там сверху должен был поступать свет,
два варианта нарисовано же было как минимум у кормового светлого люка..

301 .. 330 из 393
Войдите, чтобы ответить в тему.