Karopka 3.0
Покупка копрессора
Алексей Чеховский Алексей Чеховский

Спонсор

На сайте с 18.12.2018

12     166

Друзья, привет! У меня умирает компрессор Jas 1203, нужна замена, что посоветуете? Аэры все Jas, крашу БТТ, в основном Тамией (если это важно)

ekha ekha

На сайте с 31.08.2010

29     3998

JAS 1203, SPARMAX AC-500SR

Ваш полировщик из поколения Гугла...

Юрий Андрющенко Юрий Андрющенко

На сайте с 31.07.2012

45     218

@Алексей Чеховский написал:

Друзья, привет! У меня умирает компрессор Jas 1203, нужна замена, что посоветуете? Аэры все Jas, крашу БТТ, в основном Тамией (если это важно)


А чего умирает?Если мотор работает нормально,то все остальное лечится относительно недорогим рем комплектом.У меня после 7 или 8 лет работы и замены всего что идет в рем комплекте  работает как новый.Аэры IWATA,крашу авто в 1:24-25 профессиональными авто красками(если это важно)

Алексей Чеховский Алексей Чеховский

Спонсор

На сайте с 18.12.2018

12     166

Очень сильно шумит при работе, долго стал накачивать в ресивер. По совету форумчан стучал по якорю - не помогло

Михаил Михаил

Эстет

На сайте с 21.09.2011

13     5910

12.10.2020, 17:57 ред. 12.10.2020, 18:08
@Алексей Чеховский написал:

По совету форумчан стучал по якорю - не помогло


Надо было с бубном попрыгать. Шутка.
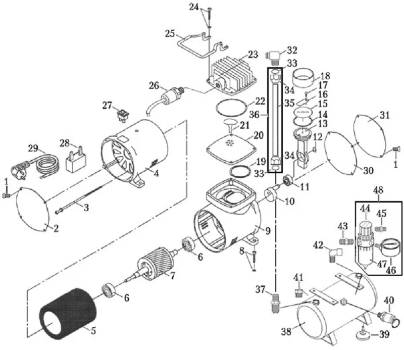
Нужно разобрать и посмотреть поршневую группу и коленвал. Если плохо набирает давление, может дело просто в клапанах.
 
Для начала, я-бы снял крышку с прокладкой 31, 30. И посмотрел состояние подшипника 11. Это наименее затратный ремонт и более простой.
Если подшипник цел, снимаем "бошку" и смотрим состояние клапана 21.
Сам электродвигатель разбирать не надо. Если крутит в обычном режиме и нет характерного дыма, то движок не при чем.
С Уважением, Михаил!

Пы.Сы. ОБЯЗАТЕЛЬНО!!! Соблюдайте меры предосторожности. Выньте вилку из розетки (и проследите, чтобы во время ремонта её никто туда не воткнул  )

Надо не спешить, чтоб не опоздать, не спеша закончить всё, чтобы побыстрей.
Пипундий.

Krazy Horse Krazy Horse

На сайте с 06.10.2010

20     1262

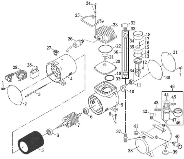
Комплект расходных материалов для тех. обслуживания компрессора 1203

Чем меньше хуже, тем больше лучше......

ekha ekha

На сайте с 31.08.2010

29     3998

Элементарно мог забиться впускной фильтр.

Ваш полировщик из поколения Гугла...

Алексей Чеховский Алексей Чеховский

Спонсор

На сайте с 18.12.2018

12     166

Коллеги, всем спасибо, попробую отремонтировать. А если доломаю, какие еще можете посоветовать? Может купить такой же и старый типа на запчасти пустить?

ekha ekha

На сайте с 31.08.2010

29     3998

@Алексей Чеховский, вам уже посоветовали.

Ваш полировщик из поколения Гугла...

Алексей Чеховский Алексей Чеховский

Спонсор

На сайте с 18.12.2018

12     166

Я просто подумал, что может еще какие-то варианты есть. Ок, спасибо. А еще вопрос - если действительно проблема в каком-нибудь подшипнике - где брать запасной? Судя по картинке, в рем комплект подшипники не входят

ekha ekha

На сайте с 31.08.2010

29     3998

@Алексей Чеховский написал:

где брать запасной?


Смотрим маркировку подшипника и идем в автомагазин или магазин подшипников за аналогом.

Ваш полировщик из поколения Гугла...

Ла
Лаосский партизан

На сайте с 18.09.2020

0     76

@Алексей Чеховский написал:

А еще вопрос - если действительно проблема в каком-нибудь подшипнике - где брать запасной? Судя по картинке, в рем комплект подшипники не входят


Подшипники
Вот неплохое подшипниковое место. Торгуют от копеечного китая до SKF. 

Алексей Чеховский Алексей Чеховский

Спонсор

На сайте с 18.12.2018

12     166

@Лаосский партизан написал:
Алексей Чеховский написал:

А еще вопрос - если действительно проблема в каком-нибудь подшипнике - где брать запасной? Судя по картинке, в рем комплект подшипники не входят


Подшипники
Вот неплохое подшипниковое место. Торгуют от копеечного китая до SKF.

Спасибо!

Александр Челядинов Александр Челядинов

На сайте с 16.01.2011

12     42

Здравствуйте коллеги , помогите определится. Хочу купить компрессор , есть два варианта по цене которая меня устраивает , это "Метеор 2" от Ork's Workshop , но по нему нет не какой информации и отзывов. И второй вариант , это
JAS 1228 , но тут тоже отзывы , половина положительных и половина не очень.

Viper_msk Viper_msk

Я - русский! Я тот самый колорад.

Эстет

Спонсор

На сайте с 15.09.2010

14     1531

Не морочьте себе голову. Все эти изделия делаются на Малой Арнаутской улице одними и теми же кЕтайТСами в одних и тех же артелях. Угадать, какой из них проживёт сто лет, а какой загнётся через неделю, просто нереально. Покупайте то, что больше нравится.

1. Кто хочет - ищет способ, кто не хочет - причину.

2. Боишься — не делай, начал делать — более не бойся, а сделал — так не сожалей.

3. "По плодам их узнаете их".

Александр Челядинов Александр Челядинов

На сайте с 16.01.2011

12     42

Viper_msk

Да это понятно , где они делаются и кем и какой из них больше протянет угадать не возможно. Но тем не менее спасибо за ответ. 

Olegin Olegin

Эстет

Спонсор

На сайте с 09.07.2008

0     1959

что больше нравится.

Полностью поддержу-всё это одно и тоже с вариациями в виде места для размещения  аэрографа (кстати , нафига?) .

Все что ни делается,делается к лучшему,только худшим из способов

Войдите, чтобы ответить в тему.