С 2006 собираю информацию по БПК проекта 1155 шифр «Фрегат».
Теперь решил строить модель БПК «Адмирал Левченко» в масштабе 1/72.1155-ые очень красивые корабли
На вооружении БПК стоят два вертолёта. В настоящее время в вариантах Ка-27 ПЛ и Ка-27 ПС.
Планируется построить три вертолёта в масштабе 1/72:
- Ка-27 ПЛ как функциональная модель (вращение винтов, открывание люков, освещение итд.)
- Ка-27 ПС со сложенными лопастями в ангаре
- Ка-27 ПС диарама. Обслуживание вертолёта. Открытые люки, фигурки лётчиков, обслуживающего персонала.
За основу взят набор от «Звёзды». После изучения модели, фотографий и чертежей, построенных моделей пришёл к выводу, что модель от «Звёзды» без перепила вообще нельзя использовать. Мелочевку нужно полностью в топку отправлять. Фюзеляж неправилен, расшивка, люки итд. Но на основании уже созданной модели намного легче строить. Так что спасибо разработчикам.
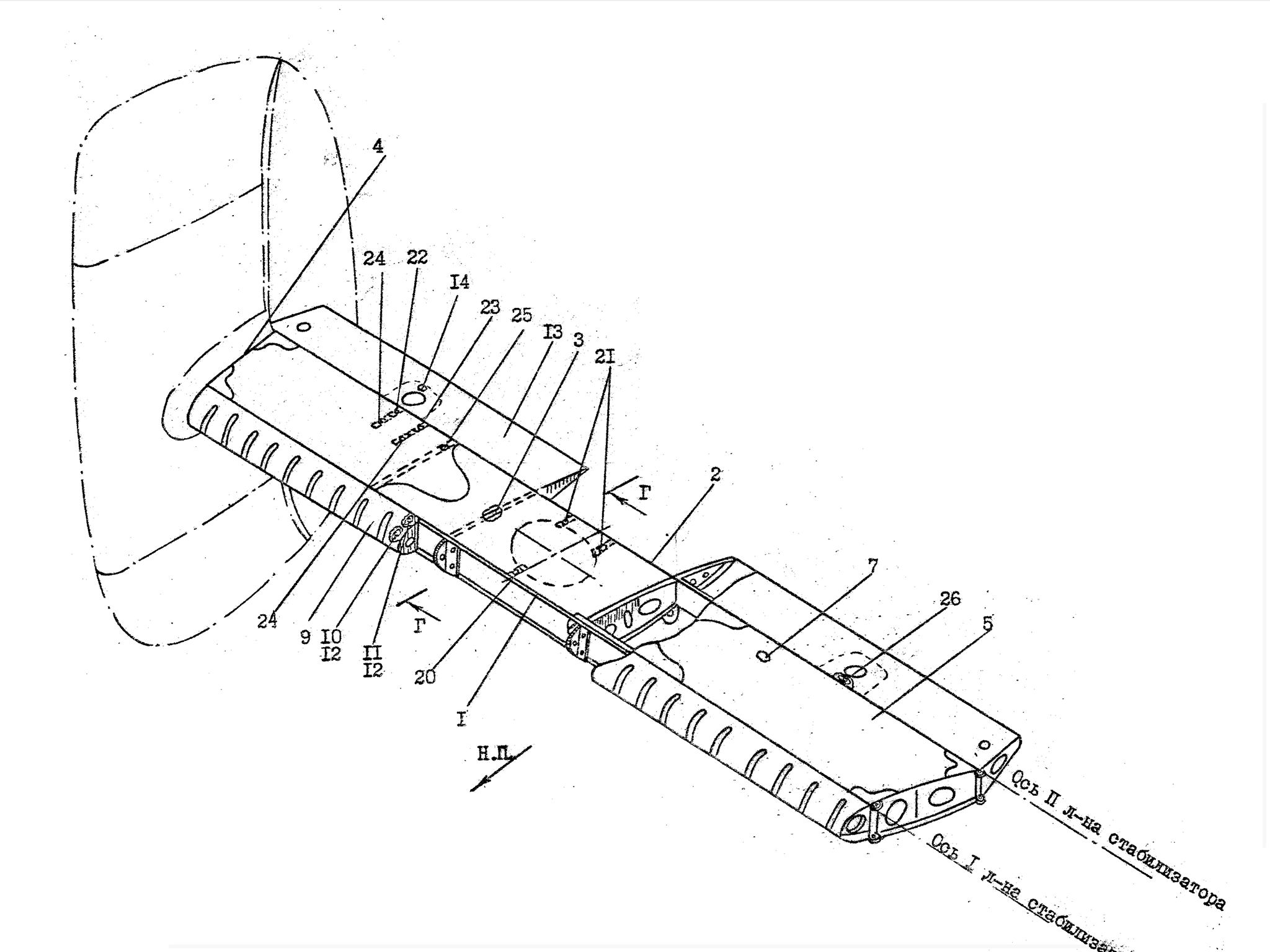
Колонку несущих винтов буду делать с нуля. Звездовская очень далека от оригинала.
Колонка будет смоделирована в 3D. Большинство деталей будет распечатано на 3D-принтере. Материал смола.
Для этого купил 3D-принтер Anycubic Photon S, моющую и закрепляющую установку Anycubic wash and cure unit.
Купил эл. двигатели с редукторами, конические шестерни, микро-рулевые машинки, часть из них уже пришло, часть ещё в пути.
Также купил три разных р/у микровертолёта. Посмотрю может привод винтов подойдёт. Если нет буду делать новый привод.
в инете нашёл довольно много фотографий и чертежей. После сравнения «модельных» чертежей, которые были напечатаны в различных журналах, с фотографиями установил, что они неточные. Начал копать в инете дальше. Нашёл заводские (немного) по Ка-32. Также нашёл указания размеров на отдельные элементы колонки несущих винтов. На основании этих данных буду строить 3D модель в М1:1.
Гвозди б делать из этих людей:Крепче б не было в мире гвоздей.
(Н. Тихонов)
А начало, когда нибудь положено будет?
В процессе стройки, по ходу пьесы и будете показывать разницу с оригиналом по каждому из узлов.
С уважением, Андрей.
Отличные планы! 
Учтите по фотону S - попасть в размер и получить мелкую детализацию без модификаций экрана и хорошей смолы - нереально из-за косяка производителя.
По поводу моделирования и чертежей/схем - боюсь они лишь отдалённо помогут. Но сделать более точно чем есть в модели Звезды - однозначно помогут. А если хотите реальной точности без обмера в живую - фотограмметрия Вам в помощь 
Удачи в реализации. Эх мне бы эти чертежи и фото когда я свои вертолёты строил было бы полегче.
Никогда не бойся пробовать что-то новое, что-нибудь да получиться.
@ЩAK3D написал:Отличные планы!
Учтите по фотону S - попасть в размер и получить мелкую детализацию без модификаций экрана и хорошей смолы - нереально из-за косяка производителя.
@Сергей Ерофеев написал:Удачи в реализации. Эх мне бы эти чертежи и фото когда я свои вертолёты строил было бы полегче.
Если вкратце - у него очень толстое защитное стекло из-за которого идёт очень сильное рассеивание. Попасть хотя бы в 2-3 десятых мм нереально. Зелёная родная смола - неплоха по XY , но очень сильно прожигается по Z. Из хороших смол могу рекомендовать AmeraLABS (чёрную AMD-3). Заказать можно напрямую через их сайт - высылают по почте, очень оперативно. Дороже эникубика, но и качество отпечатков / работы со смолой намного выше. Из вариантов доступных в России - это смола HarzLabs - модельная вишнёвая или чёрная. тоже довольно точные смолы. И да, что Харз, что Амера - без запаха.
На фото сравнение обычного фотона, фотона С и фотона С после модификации. Диаметр отверстий в диске - 0,6мм.
@AK3D написал:Если вкратце - у него очень толстое защитное стекло из-за которого идёт очень сильное рассеивание. Попасть хотя бы в 2-3 десятых мм нереально. Зелёная родная смола - неплоха по XY , но очень сильно прожигается по Z. Из хороших смол могу рекомендовать AmeraLABS (чёрную AMD-3). Заказать можно напрямую через их сайт - высылают по почте, очень оперативно. Дороже эникубика, но и качество отпечатков / работы со смолой намного выше. Из вариантов доступных в России - это смола HarzLabs - модельная вишнёвая или чёрная. тоже довольно точные смолы. И да, что Харз, что Амера - без запаха.
@Atom44,
Не путайте механику принтера (тут у фотона S всё более-менее), с разрешением смолы.
Зелёная от Эникубика - слишком прозрачная для мощной засветки S - поэтому она очень сильно врёт по Z - если у вас будут "мосты" - принтер просветит смолу глубже чем нужно - смола слишком прозрачная. Чтобы понять разрешающие способности -рекофмендую тестовые распечатки - классический кубик "3DSLA" брать тут: https://www.thingiverse.com/thing:1219068
И для быстрого подбора оптимальных параметров - плоский тест - я его смоделировал на основе популярного в сети, но оставил только самое нужное и уменьшил его толщину и размер - быстрее печатается , меньше тратит смолы. Фото привёл.
Брать тут: https://drive.google.com/open?id=16hkYIDwT9BpIvmfPPs34eq6dqXuZ7i_J
Я , к сожалению, пока в процессе написания статьи про модификацию принтера, но мой знакомый сделал свою публикацию, которая даёт представление о необходимых изменениях, почитать можно тут:
https://3dtoday.ru/blogs/andybig/peredelka-printera-anycubic-photon-s-korotko
Не за что! Я потратил почти 2 года на поиск и решение проблем с печатью, поиск смолы и т.д. 
Если Вы из Германии - тогда точно AmeraLABS Ваш вариант.
Спасибо огромное. Обязательно воспользуюсь Вашим советом! Очень ценю и снимаю шляпу!
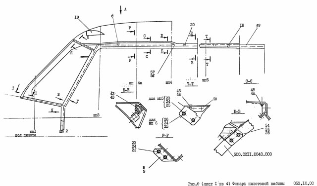
Немного деталировки. В геометрии «звездинского» вертолёта ну оочень много грубых ошибок
@Atom44 написал:о том что это мощные планы, я это знаю! Можете помочь, всегда пожалуйста. Если нет, тогда не надо это здесь писать. Не к к чему это. Только ветку засерать.
Гвозди б делать из этих людей:Крепче б не было в мире гвоздей.
(Н. Тихонов)
Учитывая масштаб 1:72 прикупил микроскоп Nikon и увеличительные очки до 3,5. Но рабочее расстояние небольшое. Пришлось купить другие с увеличением 3,5 и рабочим расстоянием 420 мм. Пока в пути.
Реально просьба, фотки уменьшить малость. Неудобно эту "портянку" по всему экрану таскать, плиз.
@Евгений Цельнов написал:Реально просьба, фотки уменьшить малость. Неудобно эту "портянку" по всему экрану таскать, плиз.
Ну если вы для 72 микроскоп пользуете, чего ж мне тогда использовать
для 200.
Интересна данная тема. Этот будет пл , второй будет пс со сложенными лопастями для "Петр Великий"
Евгений я видел твою ветку. Респект!
Очень понравилось.
удивило то, что у нас примерно одинаковый подход.
Вертолёт на палубе корабля занимает довольно много места. И если сделать его детализировано, то модель оочень от этого выиграет.
Я как-то видел на выставке в Дортмунде модель американского фрегата в масштабе 1/72 выполненного авиамоделистом. Это было просто :f09f92a3: бомба. Лучшая модель, которую я когда либо видел. Был на чемпионате мира , эта модель на порядок выше!
Я пробовал делать мелочевку с микроскопом. Эффект такой, что ты до этого был :f09f91a8::f09fa6af: слепой.
видно всё.
Если у меня с 3D-печатью получиться, то это можно и до 200 масштаба уменьшить и напечатать.
@Atom44 написал:извини. На телефоне это не видно. Этот форум с эйпл не очень дружит. У меня что айпэд, то айфон глючит. Я сейчас на даче пивасиком балуюсь
Современные БТТ России 1/35
@Иван Лосев написал:Atom44 написал:извини. На телефоне это не видно. Этот форум с эйпл не очень дружит. У меня что айпэд, то айфон глючит. Я сейчас на даче пивасиком балуюсь
Этот форум дружит с Apple ))Смотрю фото с Макбука и тоже портянка по всему экрану !!)